EasyManua.ls Logo

Sony SRW-5800 - 4-1-12 Saving and Recalling DEFAULT Settings Through the Network

Sony SRW-5800
211 pages
Print Icon
To Next Page IconTo Next Page
To Next Page IconTo Next Page
To Previous Page IconTo Previous Page
To Previous Page IconTo Previous Page
Loading...
56
4-1 Registering and Storing Menu Settings
Chapter 4 Menu Settings
For details, see “To change the DEFAULT values in a
menu item” on page 115.
These changed DEFAULT values can be saved in a VTR
BANK of the VTR.
1
Press the SET UP button.
The SETUP menu appears.
2
Press the ALT button.
The ALT + SETUP menu appears.
3
Press the [F1] (DEFAULT VTR BANK) button.
The DEFAULT VTR BANK screen appears.
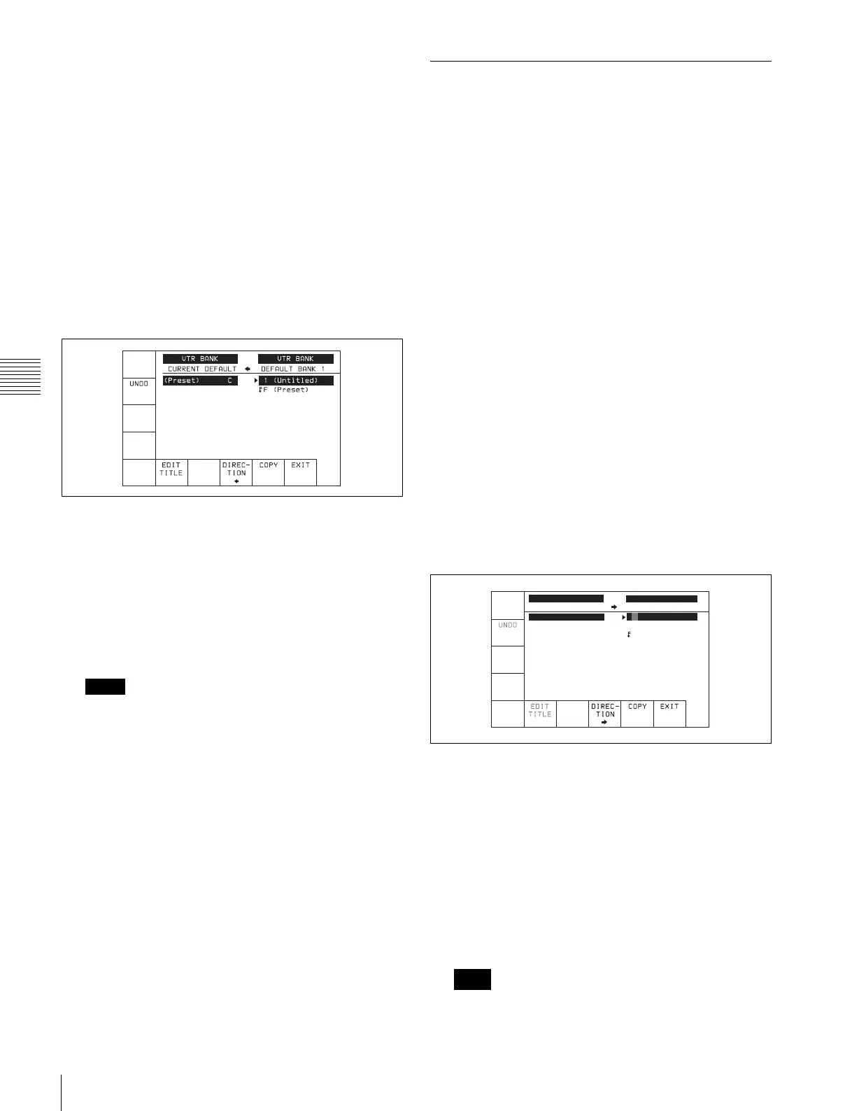
The procedure for saving from CURRENT
DEFAULT to DEFAULT BANK, saving from
DEFAULT BANK or FACTORY PRESET (factory
setting) to CURRENT DEFAULT, changing the title,
or setting protection, is the same as operation on a
VTR bank.
For details, see “4-1-4 VTR Memory Bank Function”
on page 40.
Notes
The storage region for DEFAULT BANK is one set
only.
The title name shown in the current area is always
that for the CURRENT SETUP data. When
DEFAULT BANK data with the title changed is
written to CURRENT DEFAULT, the title of the
current area does not change.
Also, when CURRENT DEFAULT settings are
saved in DEFAULT BANK, the title of DEFAULT
BANK is copied from the title of CURRENT
SETUP.
4-1-12 Saving and Recalling
DEFAULT Settings Through the
Network
For each VTR SETUP menu item, you can change the
factory DEFAULT value to a desired value.
For details, see “To change the DEFAULT values in a
menu item” on page 115.
These changed DEFAULT values can be saved in a VTR
BANK of the VTR, and recalled from the bank through the
network.
1
Prepare the network.
For details on network preparation, see “Preparation
for networking” on page 47.
2
Press the SET UP button.
The SETUP menu appears.
3
Press the ALT button.
The ALT + SETUP menu appears.
4
Press the [F3] (DEFAULT NETWOR) button.
The DEFLT NET menu appears.
When the srw5800bank.dat file containing
DEFAULT values is not found in the VTRBANK
folder on the FTP server (this unit)
“NO SETUP DATA” appears under the NETWORK
indication.
If this happens, exit the NETWRK menu and copy the
srw5800bank.dat file to the VTRBANK folder on the
FTP server (this unit), or create a default
srw5800bank.dat file in the VTRBANK folder.
For details on creating default files, see “Creating
VTRBANK default files” on page 53.
The contents of VTRBANK folder are erased when
this unit is turned on.
Note
(Preset) 0
NETWORK
NETWORK DEFAULT
(Preset)
VTR BANK
CURRENT DEFAULT
C (Preset)
1 (Untitled)
F (Preset)

Table of Contents

Other manuals for Sony SRW-5800

Related product manuals