EasyManua.ls Logo

Sony UTX-B1 - Diversity Tuner Module (URX-M1); Head-Set Type Microphone (Supplied)

Sony UTX-B1
135 pages
Print Icon
To Next Page IconTo Next Page
To Next Page IconTo Next Page
To Previous Page IconTo Previous Page
To Previous Page IconTo Previous Page
Loading...
15
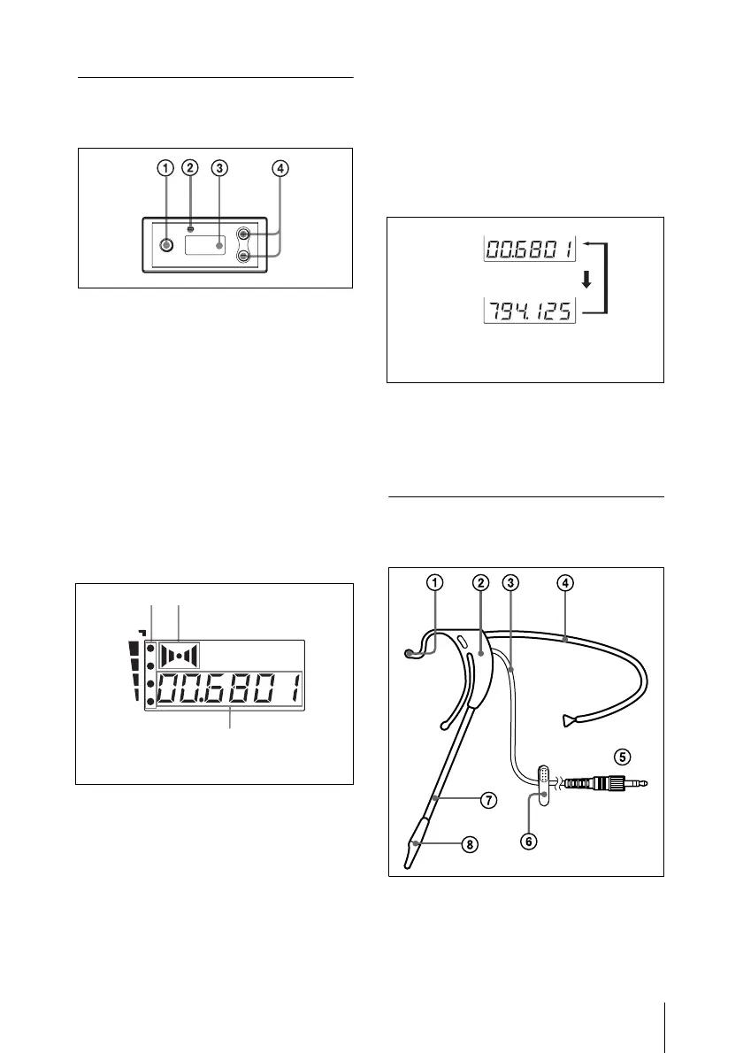
Parts Identification
Diversity tuner module
(URX-M1)
a SET button
Press to change display parameters.
For details, see “Settings” on page 22.
b RF (radio frequency) indicator
The color indicates the strength of the
RF input signal.
On in green: RF input is 25 dBµ
*
or more.
Off: RF input is less than 25 dBµ
*
.
* 0 dBµ = 1 µV
EMF
c Display section
A RF (radio frequency) indications
The number of dots indicates the RF input
level.
B AF (audio frequency) indication
Appears whenever the output audio signal
is stronger than the reference level.
C GP (group)/CH (channel) indication
Shows the reception channel group and
channel number. Each time you press the
SET button, the channel indication changes
as follows.
For details, see“Settings” on page 22.
d + (+ selection) / – (– selection/reset)
buttons
Press these buttons to set the reception
channel and frequency.
Head-set type microphone
(supplied)
AF
RF
CH
A
B
C
The channel indication (C) for U66
model is shown.
Reception
channel group
and number
Reception
frequency
The channel/frequency indications for
U66 model are shown.
Press
the
SET
button.

Table of Contents

Other manuals for Sony UTX-B1

Related product manuals