EasyManua.ls Logo

Steinberg UR816C - Page 43

Steinberg UR816C
47 pages
Print Icon
To Next Page IconTo Next Page
To Next Page IconTo Next Page
To Previous Page IconTo Previous Page
To Previous Page IconTo Previous Page
Loading...
Appendix
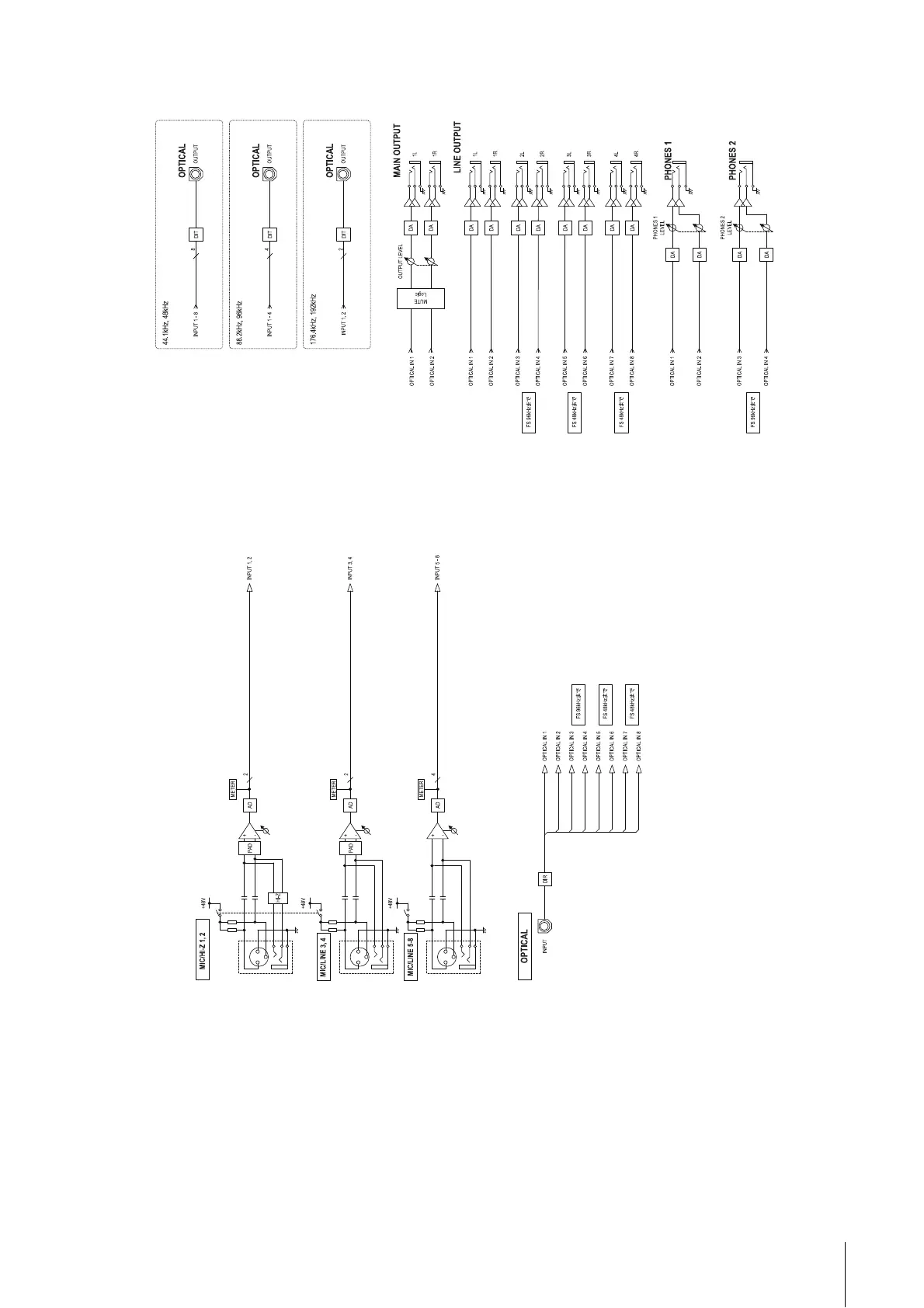
UR816C Operation Manual 43
HA Mode

Other manuals for Steinberg UR816C

Related product manuals