EasyManua.ls Logo

stertil COMBILOK - Page 70

stertil COMBILOK
Print Icon
To Next Page IconTo Next Page
To Next Page IconTo Next Page
To Previous Page IconTo Previous Page
To Previous Page IconTo Previous Page
Loading...
66
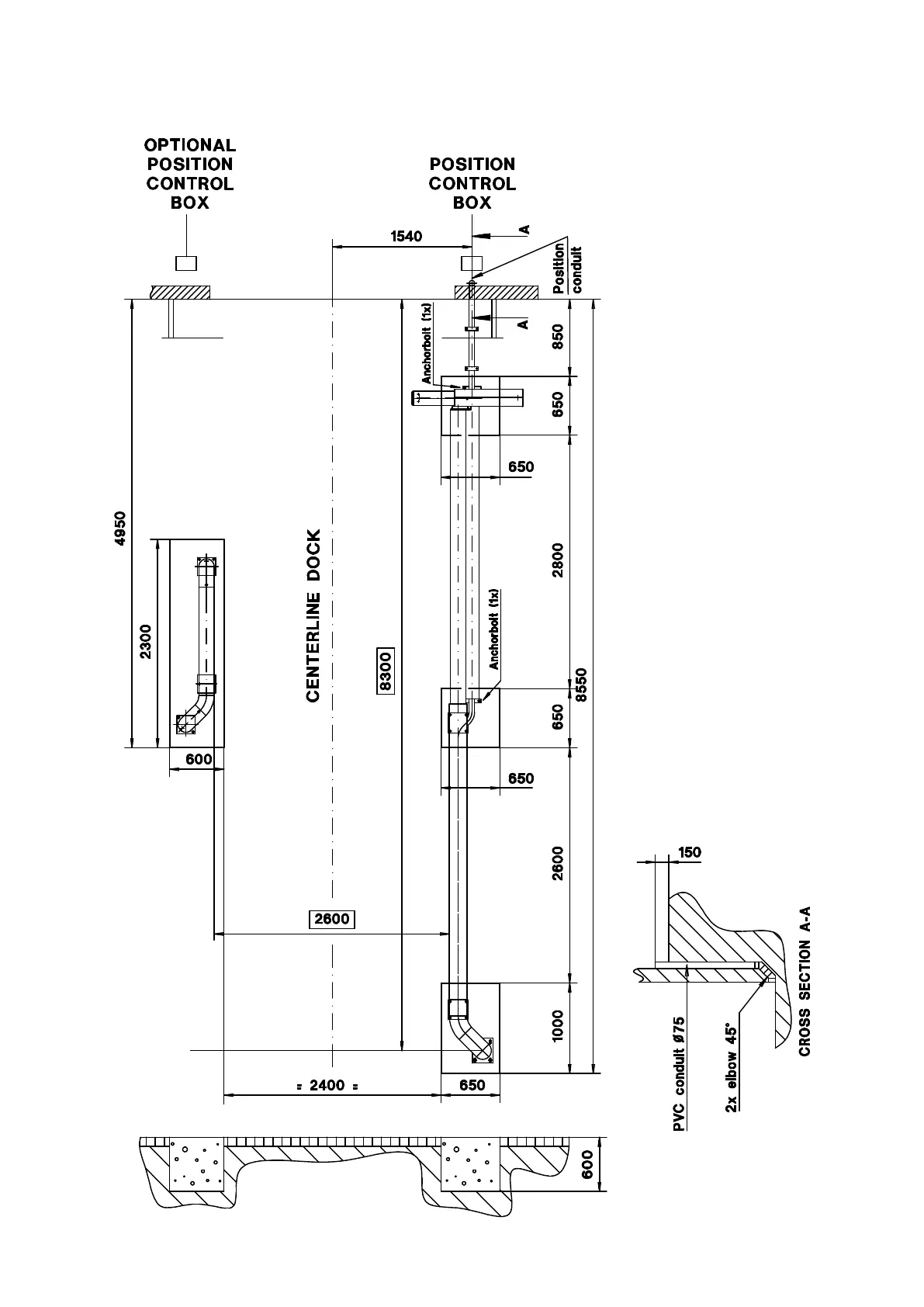
FIG. K FOUNDATION INSTRUCTION (RIGHT MODEL)
FIG. K FUNDATIEVOORSCHRIFT (RECHTSE UITVOERING)
FIG. K VORSCHRIFTEN GRUNDPLATTE (RECHTER AUSFÜHRUNG)
FIG. K PRESCRIPTIONS POUR LA FONDATION (MODELE A DROIT)

Table of Contents