EasyManua.ls Logo

Stryker 1015 - Page 88

Stryker 1015
167 pages
Print Icon
To Next Page IconTo Next Page
To Next Page IconTo Next Page
To Previous Page IconTo Previous Page
To Previous Page IconTo Previous Page
Loading...
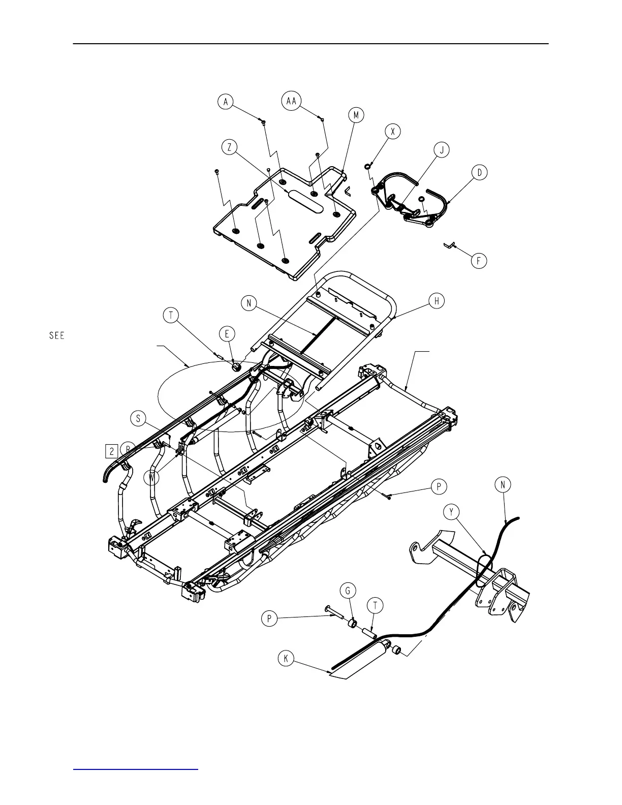
26” Standard Fowler Assembly
87
See Detail A
DETAIL A
Assembly part number 0785−012−602 (reference only)
0785−010−601
Return to Table of Contents

Table of Contents

Related product manuals