EasyManua.ls Logo

Sullair 3007 - Identification, Air-Cooled, Standard and VSD

Sullair 3007
146 pages
To Next Page IconTo Next Page
To Next Page IconTo Next Page
To Previous Page IconTo Previous Page
To Previous Page IconTo Previous Page
Loading...
3.7
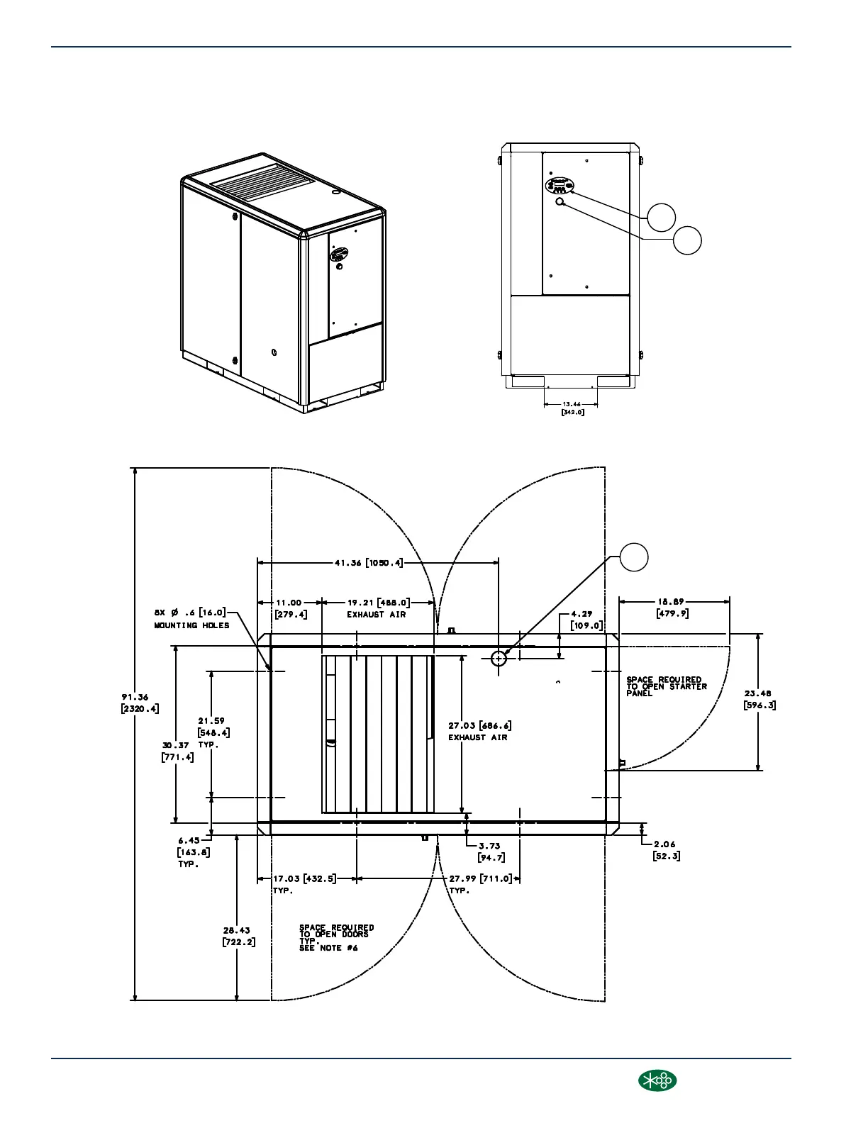
IDENTIFICATION, AIR-COOLED, STANDARD AND VSD
2
3
1
02250156_213r03-2
SECTION 3
22
3000-4500 Operator’s Manual and Parts List
®SULLAIR®

Table of Contents

Other manuals for Sullair 3007

Related product manuals