EasyManua.ls Logo

Sullair 425 - Page 96

Sullair 425
164 pages
Print Icon
To Next Page IconTo Next Page
To Next Page IconTo Next Page
To Previous Page IconTo Previous Page
To Previous Page IconTo Previous Page
Loading...
90
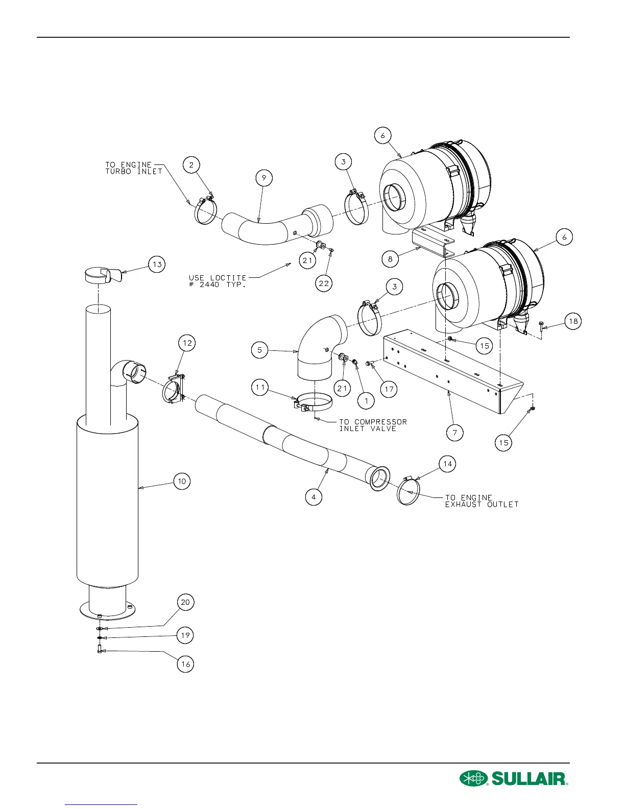
375 John Deere Standard and Aftercooled/Filtered Operator’s Manual and Parts List
SECTION 7
7.5a AIR INLET & EXHAUST SYSTEM CE (EUROPEAN) MODELS
02250171-065R02

Table of Contents

Other manuals for Sullair 425

Related product manuals