EasyManua.ls Logo

Sullair TS-32 - Remote Cooler Compressor Discharge

Sullair TS-32
164 pages
To Next Page IconTo Next Page
To Next Page IconTo Next Page
To Previous Page IconTo Previous Page
To Previous Page IconTo Previous Page
Loading...
Section 8
ILLUSTRATIONS AND PARTS LIST
98
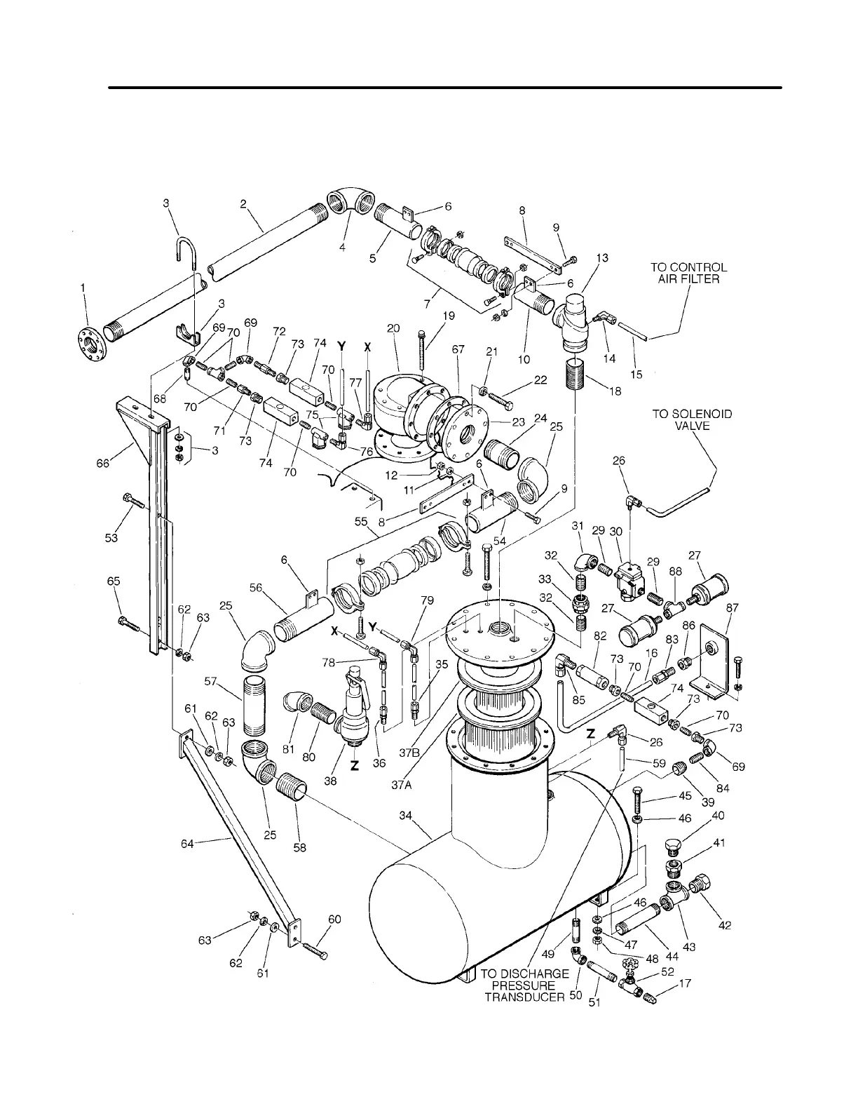
8.18 REMOTE COOLER COMPRESSOR DISCHARGE SYSTEM -- 200 -- 300HP/150 -- 225KW
(AIR-- COOLED)

Related product manuals