EasyManua.ls Logo

Sunbeam SB700 - Step Zig-Zag

Sunbeam SB700
47 pages
Print Icon
To Next Page IconTo Next Page
To Next Page IconTo Next Page
To Previous Page IconTo Previous Page
To Previous Page IconTo Previous Page
Loading...
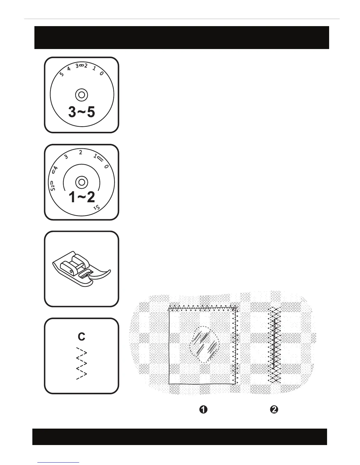
Sewing on lace and elastic, darning, mending,
reinforcing edges.
Set the machine as illustrated. Pattern selector on
C ”.
Place patch in position. The stitch length can be
shortened to produce very close stitches. (1)
When mending tears, it is advisable to use a
piece of backing fabric to reinforce. The stitch
density can be varied by adjusting the stitch
length. First sew over the center and then
overlap on both sides. Depending on the type of
fabric and damage, sew between 3 and 5 rows. (2)
3 step zig-zag
31

Related product manuals