EasyManua.ls Logo

TCM FD45T9 - Basic Servicing Knowledge for Forklift Trucks

TCM FD45T9
291 pages
Print Icon
To Next Page IconTo Next Page
To Next Page IconTo Next Page
To Previous Page IconTo Previous Page
To Previous Page IconTo Previous Page
Loading...
1-17
1.2 BASIC SERVICING KNOWLEDGE
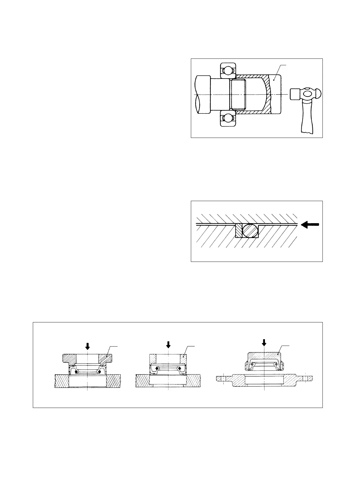
1. Installing bearings
When installing a bearing onto a shaft, tap its inner
race with a mallet as shown in Figure 1.1. When installing
a bearing into a case, tap its outer race.
When removing, use the same procedure as for
installing.
2. “O”-rings
Use “O”-rings free from molding fault or damage.
Clean “O”-rings and their mounting area and apply grease or hydraulic oil to them.
When installing “O”-rings, do not expand them so excessively that they suffer permanent deformation. Also
do not roll them when installing; otherwise they might stay twisted, causing oil leakage.
When using an O”-ring and back-up ring as a set,
such as when hydraulic pressure is high, position the
“O”-ring at the side which receives the oil pressure.
3. Oil seals
Oil seals should be installed with the seal lip pointed toward the lubrication or hydraulic oil.
When installing an oil seal on a housing, apply a thin coat of packing cementing agent on the oil seal outer
ring and inside the housing to prevent oil leakage through the fitting area. It is recommended to use a
suitable jig to apply uniform pressure when mounting oil seals.
Fig. 1.1 Installing bearings
JIG
Fig. 1.2 “O”-ring location
Pressure
Fig. 1.3 Installing Oil Seal
JIG JIG
JIG

Related product manuals