EasyManua.ls Logo

TCM FD45T9 - Lift Cylinder

TCM FD45T9
291 pages
Print Icon
To Next Page IconTo Next Page
To Next Page IconTo Next Page
To Previous Page IconTo Previous Page
To Previous Page IconTo Previous Page
Loading...
3-165
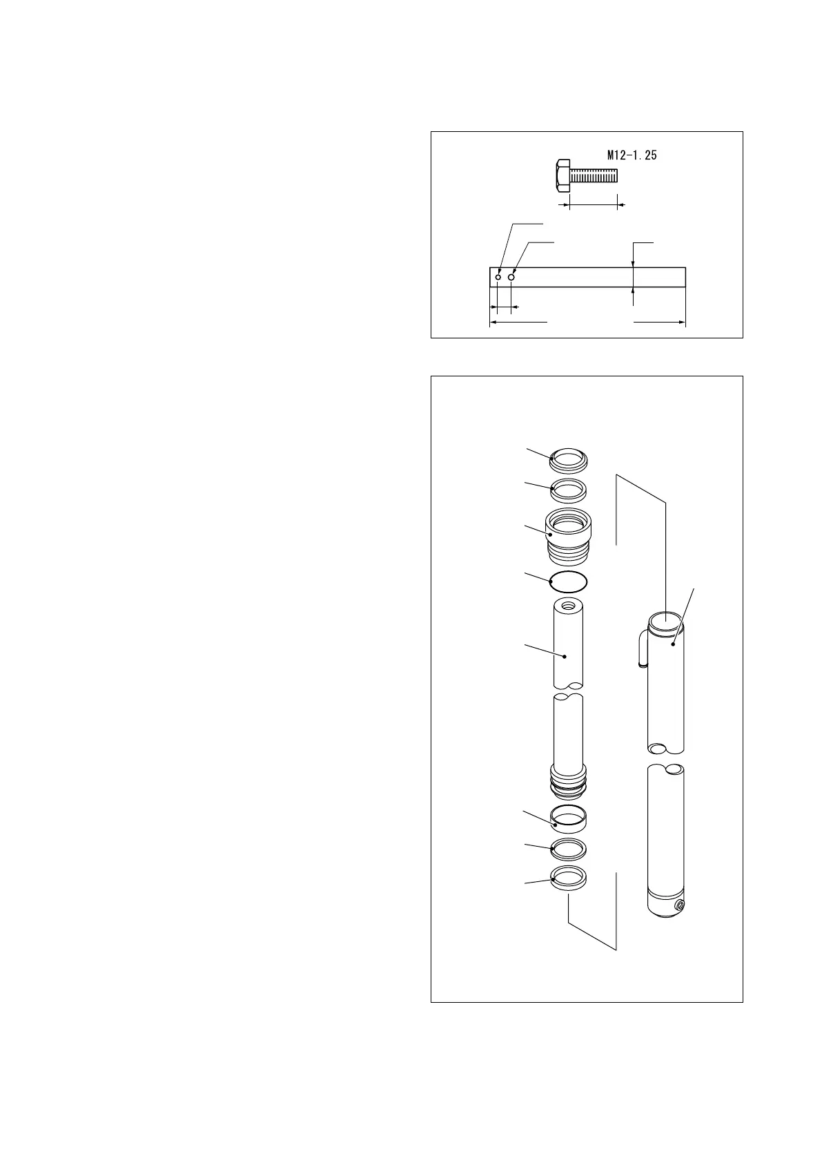
Fig. 3.508
Fig. 3.509
3.12 LIFT CYLINDER
■DISASSEMBLY
Install a locking jig shown in Figure 3.508
onto the lift cylinder.
Remove the cylinder cap assembly from the
cylinder.
Remove the rod and piston assembly from the
cylinder.
Remove the wiper ring from the cylinder cap.
Note: Do not reuse the wiper ring that has been
removed.
Remove the “U”-ring from the cylinder cap.
Note: Do not reuse the U”-ring that has been
removed.
Remove the “O”-ring from the cylinder cap.
Note: Do not reuse the “O”-ring that has been
removed.
Remove the bushing from the piston.
Note: Do not reuse the bushing that has been
removed.
Remove the back-up ring and “U”-ring from
the piston.
Note: Do not reuse the “U”-ring that has been
removed.
Unit: mm [in.]
ø12 [0.47]
WIPER RING
“U”-RING
CYLINDER
CAP
“O”-RING
ROD AND
PISTON
ASSEMBLY
BUSHING
BACK-UP
RING
“U”-RING
CYLINDER
20 [0.79]
50 [1.97]ø13 [0.51]
t = 9 [0.35]
500 [19.69]
32 [1.26]

Related product manuals