EasyManua.ls Logo

TDK-Lambda Genesys Series - DC Power Page; 6.5.1. DC Power → Output Page

TDK-Lambda Genesys Series
28 pages
Print Icon
To Next Page IconTo Next Page
To Next Page IconTo Next Page
To Previous Page IconTo Previous Page
To Previous Page IconTo Previous Page
Loading...
23
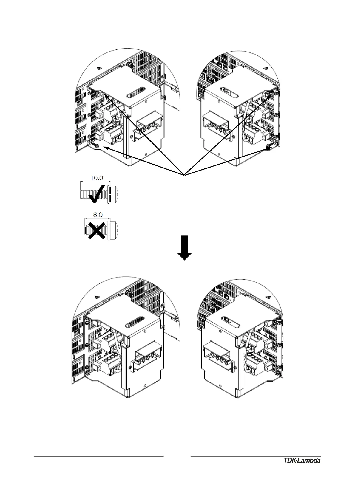
5. Attach output bracket G+15KW to fixing bracket using four SEMS screws, ten millimeter screw
length, screws as illustrated in Figure 27.

Figure27:OutputbracketG+15KW
installation

M3x10SEMSScrew,NickelPlated
Tighteningtorque:
4.7‐5.7Lbf‐inch(0.53‐0.64Nm)

Other manuals for TDK-Lambda Genesys Series

Related product manuals