EasyManua.ls Logo

Teac SR-3DAB - Identifying the Parts (Main Unit); Main Unit Controls and Features

Teac SR-3DAB
38 pages
Print Icon
To Next Page IconTo Next Page
To Next Page IconTo Next Page
To Previous Page IconTo Previous Page
To Previous Page IconTo Previous Page
Loading...
9
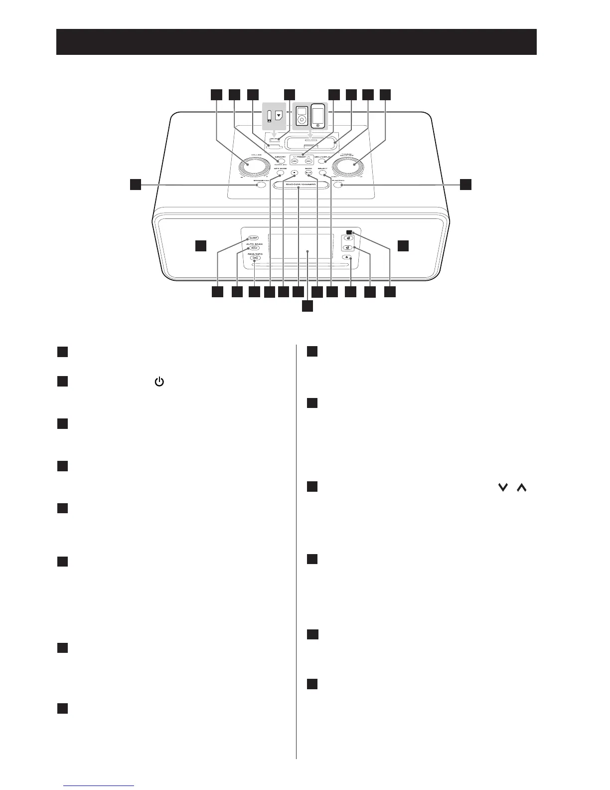
Identifying the Parts (Main Unit)
A
Speakers (Stereo)
B
STANDBY / ON (
)
Use this button to turn the unit on or put it in standby.
C
VOLUME
Use this knob to adjust the volume level.
D
FUNCTION
Use this button to select the source you want to listen to.
E
TUNING / MULTI JOG
Use this knob to tune in a station.
Use this knob also to select setting values.
F
SELECT
In iPod mode, use this button to confirm a selection in a
menu. This button has the same functions as the Center
button of the Click Wheel of an iPod.
In DAB mode, use this button to confirm selections in
menus.
G
Play / Pause ( y
/ J ) / BAND
In CD, USB / SD or iPod mode, use this button to start or
pause playback.
In tuner mode, use this button to change FM or DAB mode.
H
Stop ( H
)
In CD or USB / SD mode, use this button to stop playback.
In iPod mode, this button does not working.
I
MP3 MODE
During playback of MP3 disc or USB / SD memory card, use
this button to display the current ID3 Tag
J
MEMORY / CLOCK ADJ
In tuner mode, use this button to store preset channels into
memory.
In CD or USB / SD mode, use this button to program tracks.
In standby mode, use this button to enter clock adjustment
mode.
K
Skip / Search (.//)
/ PRESET ( / )
In iPod, CD or USB / SD mode, use these buttons to skip to
songs. Hold down these buttons to search for a part of a
song.
In tuner mode, use these buttons to select a preset station.
L
MENU / DISPLAY
In iPod mode, use this button to go back to the previous
menu. This button has the same functions as its iPod
counterpart.
In DAB mode, use this button to access various features.
M
Dock
Before use, insert an appropriate Dock Adapter in the Dock,
and then insert an iPod / iPhone (page 11).
N
SNOOZE / DIMMER
After the TIMER ON time is reached, use this button to turn
the unit off for 6 minutes.
Use this button also to dim the display.
C
B D
E
QQ
P
A A
O
T
J V
F N
G
K
U
I H R S
L
MW

Related product manuals