EasyManua.ls Logo

Tektronix 7834 - Page 119

Tektronix 7834
134 pages
Print Icon
To Next Page IconTo Next Page
To Next Page IconTo Next Page
To Previous Page IconTo Previous Page
To Previous Page IconTo Previous Page
Loading...
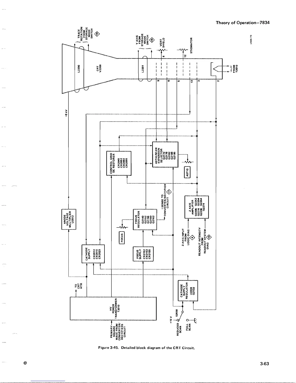
Figure
3-
45
.
Detailed block
diagram
of
the
CRY
Circuit
.
Theory
of Operation--7834

Table of Contents

Other manuals for Tektronix 7834

Related product manuals