EasyManua.ls Logo

Temp-Cast 2000 - Installing Square Fire-Box Doors

Default Icon
53 pages
Print Icon
To Next Page IconTo Next Page
To Next Page IconTo Next Page
To Previous Page IconTo Previous Page
To Previous Page IconTo Previous Page
Loading...
Section 4 – Installation of Door Frames & Facades
Temp-Cast 2000 Installation Manual
44
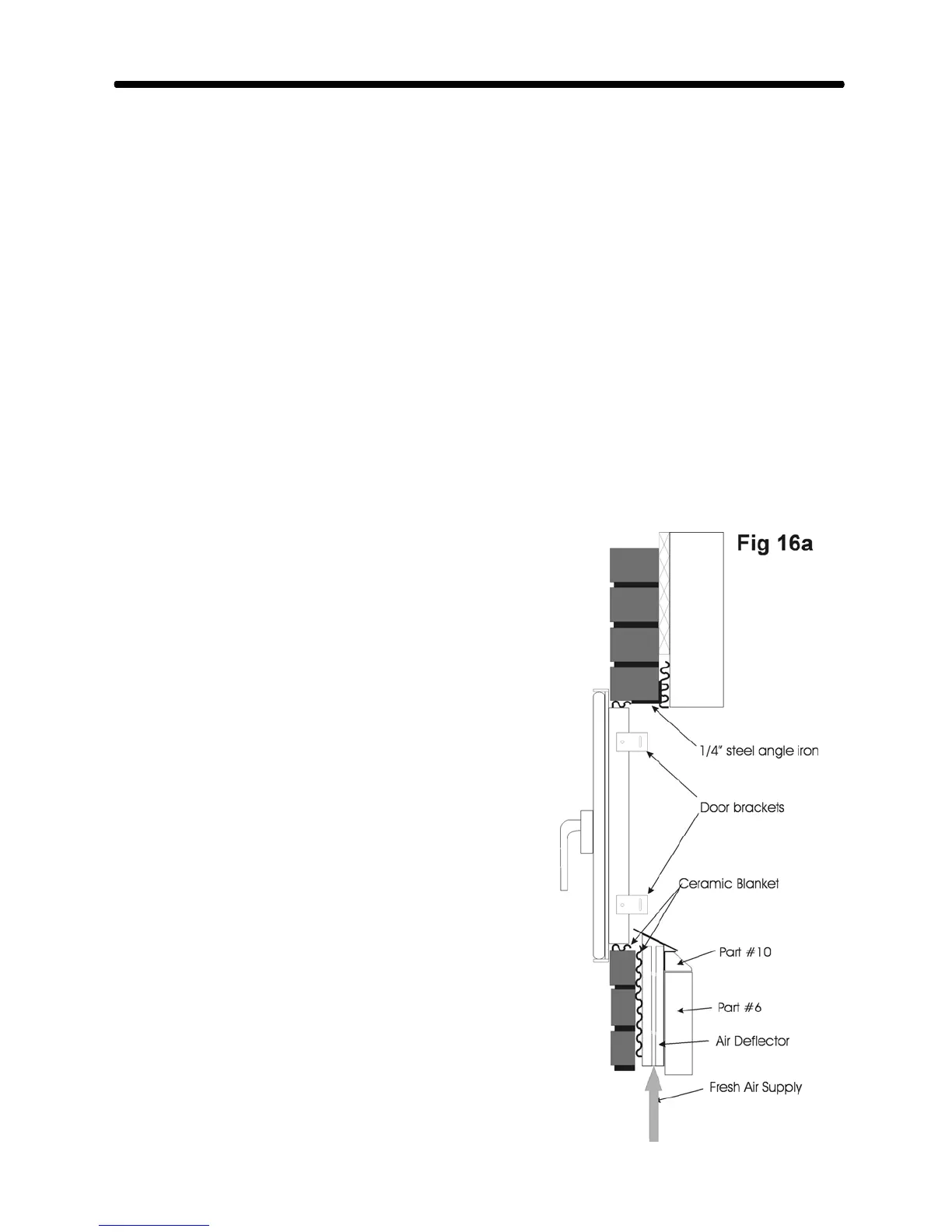
INSTALLING SQUARE FIRE DOORS
The Temp-Cast square door system
installation differs from the arched door
installation. In the square door system, air
delivery and air wash is created with an air
deflector. In addition, a ¼” angle iron lintel
must be used over the square door to support
facing materials.
Although experienced heater masons may
use a different technique to attach the
doorframe, the following method ensures
three critical points:
The doorframe MUST NOT be attached
permanently to the refractory core.
(Thermal expansion of the refractory
core and the door may cause lifting or
cracking of the facing material.)
The air deflector must be correctly
positioned to channel the air from the air
slot into the bottom of the door glass
and into the firebox, as in Fig. 16a.
The doorframe must completely cover
the firebox opening.
STEP ONE
Installation of the Temp-Cast square door
system can begin after the refractory core
has been assembled and the corrugated
spacer attached.
Cut the corrugated spacer from the firebox
opening and remove the spacer from the
area under the door, where the air deflector
will be installed. (See Fig. 16a)
STEP TWO
Place the air deflector in position as shown
in Fig 16a. It should rest on top of part #10
& be centered in the opening over the air
slot. It should be installed tightly to the
outside of the core.
STEP TWO
Using the door as a template, trace it’s
position onto the corrugated spacer, ensuring
that the door completely covers the firebox
opening. In addition, ensure that the door
and air deflector are positioned so that air is
directed onto the glass near the bottom of
the door.
STEP THREE
Measure 2” in from the previously traced
door line, towards the firebox opening, on
all four sides. Cut away this strip of
corrugated spacer.
Using a small amount of refractory mortar,
glue a 2” strip of ceramic fibre to this area.

Other manuals for Temp-Cast 2000