EasyManua.ls Logo

Texas Instruments TI-83-Plus - Page 79

Texas Instruments TI-83-Plus
99 pages
Print Icon
To Next Page IconTo Next Page
To Next Page IconTo Next Page
To Previous Page IconTo Previous Page
To Previous Page IconTo Previous Page
Loading...
TIp 6: Using Lists
Fundamental Topics in Science © 2001 Texas Instruments
TIp 6-1
TIpË 6: Using Lists
You can enter lists of different kinds of data into the list editor. For example, let’s look at two
students’ test scores.
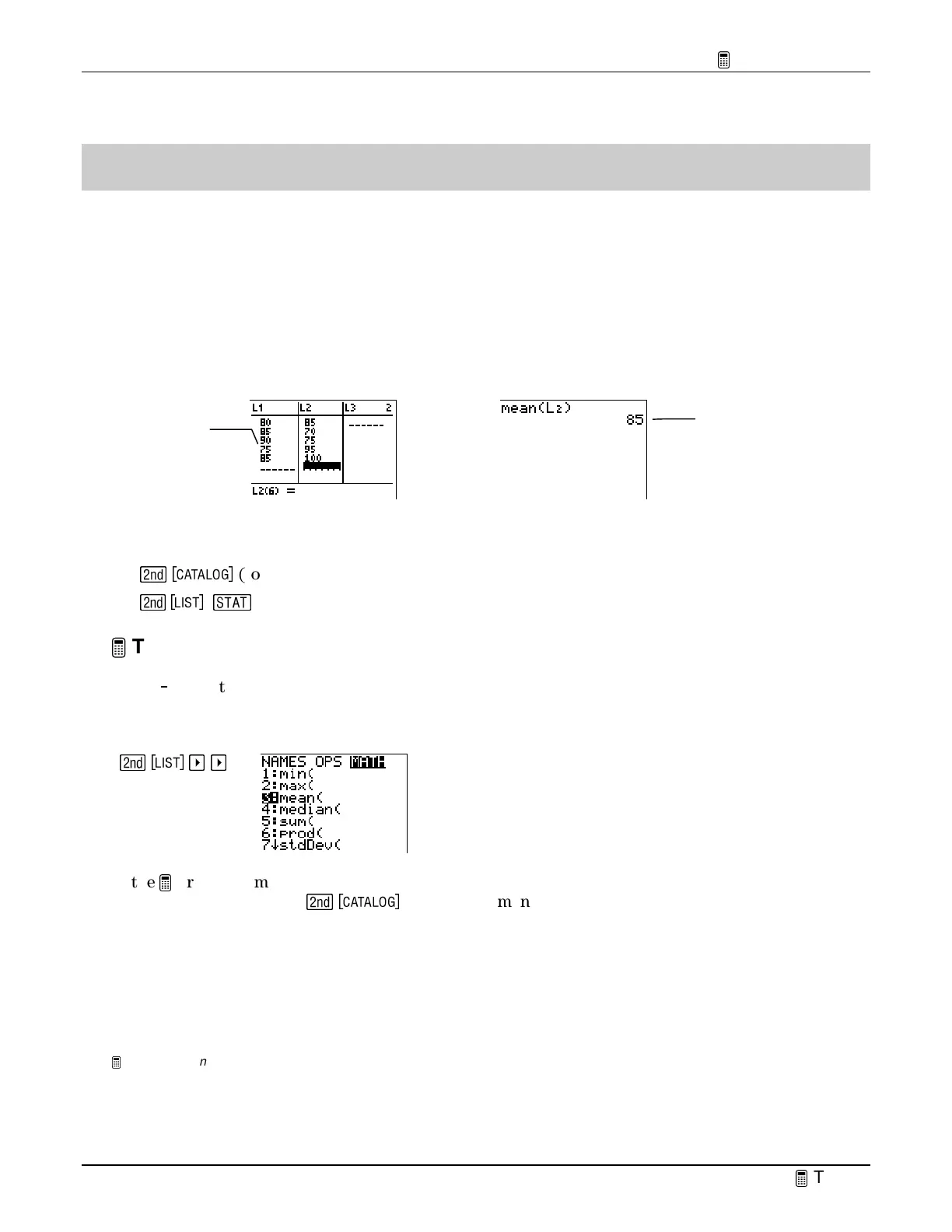
Jamal’s test scores are 80, 85, 90, 75, and 85.
Jian’s test scores are 85, 70, 75, 95, and 100.
You can create two separate lists in the list editor containing these scores. Then, on the Home
screen, you can find the sum of the elements of both lists, and then divide by the number of
elements (5) to calculate each student’s test average or mean.
Calculator Keys Used in This
TIp
-
|
(to access the
ClearAllLists
and
SetUpEditor
commands)
\
,
g
TIp Highlights
The TI
83 has two menus—
OPS
and
MATH
—that contain various list commands that help you
find mean, median, and much more. For more information on all menu items, see the calculator
guidebook.
\
"
"
In the
Try-It! example, you will use the
ClearAllLists
and
SetUpEditor
commands, which are
located in the
CATALOG
(
-
|
). These commands clear and set up the list editor as
described below.
ClearAllLists
erases all elements of all existing lists on your calculator. The list names are
still in memory, but the lists are empty. You cannot get the list elements back.
SetUpEditor
removes all list names from the list editor except the default list names,
L
1
through
L
6
. It also creates one blank list after
L
6
.
Note:
The examples in the next section assume that the calculator has been reset to the default settings as described in
TIp 1:
Resetting Your Calculator
.
L
1
lists Jamal’s
scores.
You can find the
mean or median on
the
Home screen.

Other manuals for Texas Instruments TI-83-Plus

Related product manuals