EasyManua.ls Logo

Thinget XC3-48R-E - Free Format Communication Instruction Format

Default Icon
283 pages
Print Icon
To Next Page IconTo Next Page
To Next Page IconTo Next Page
To Previous Page IconTo Previous Page
To Previous Page IconTo Previous Page
Loading...
Special Functions
Instruction Format
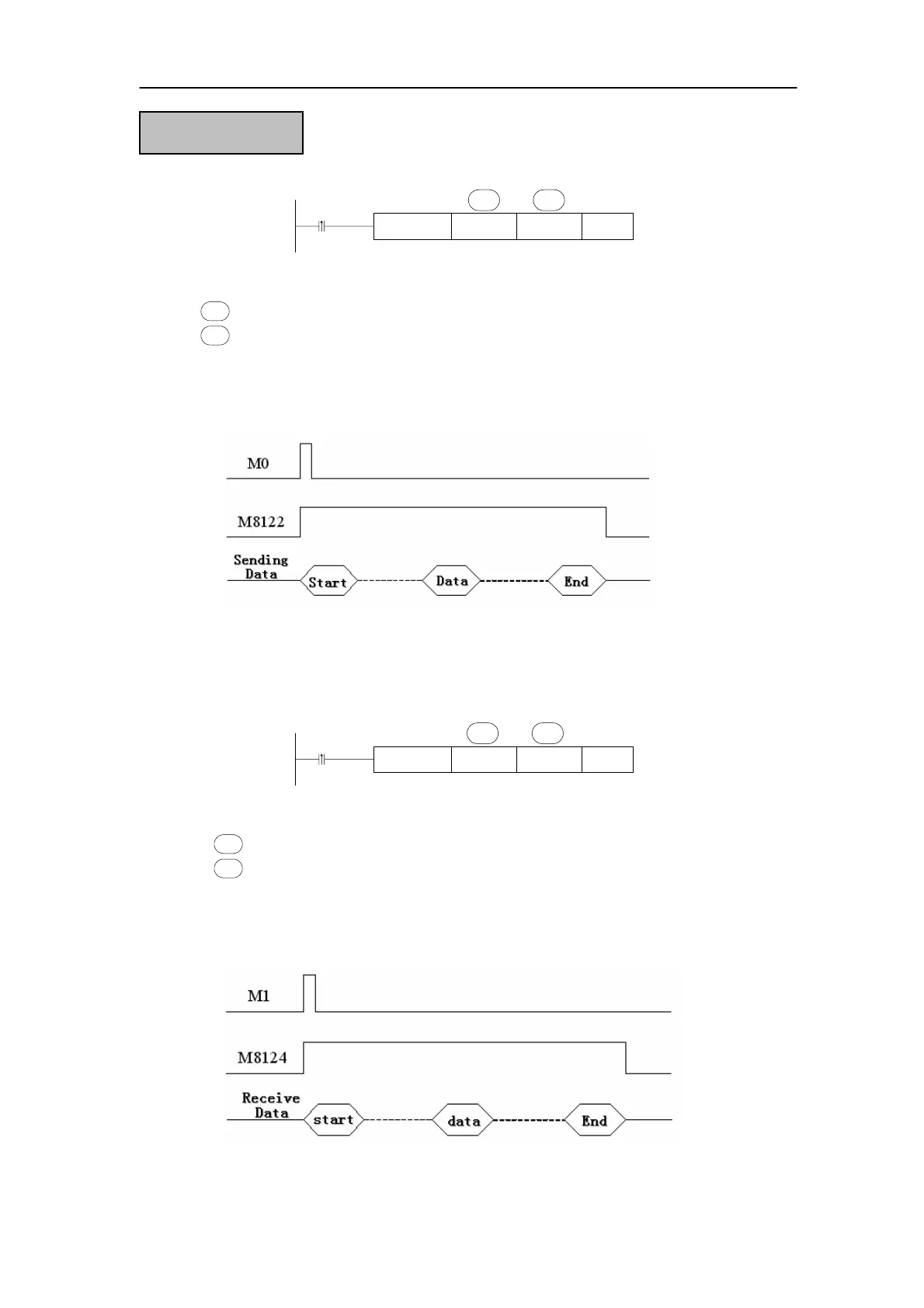
1, Send Data:
SEND D10 D100 K1
S1·
S2·
n
M0
z Data sending instruction, send data every rising edge of M0
Start address of send data. Operands: KTDCDDFD
The sent character’s number. Operands: KTDCDDFD
nCOM port Bound: K1~K2
z In the data sending process, “sending” flag M8122 (COM 1) sets ON.
S2·
S1·
2, Receive Data:
RCV D20 D200 K1
S1·
S2·
n
M1
z Data receiving instruction, receive data every rising edge of M0
Receive address of send data. Operands: KTDCDDFD
The received characters number. Operands: KTDCDDFD
nCOM port Bound: K1~K2
z In the data receiving process, “receiving” flag M8124 (COM 1) sets ON.
S2·
S1·
12

Table of Contents

Related product manuals