EasyManua.ls Logo

ThinkPad T410 - Page 113

ThinkPad T410
174 pages
Print Icon
To Next Page IconTo Next Page
To Next Page IconTo Next Page
To Previous Page IconTo Previous Page
To Previous Page IconTo Previous Page
Loading...
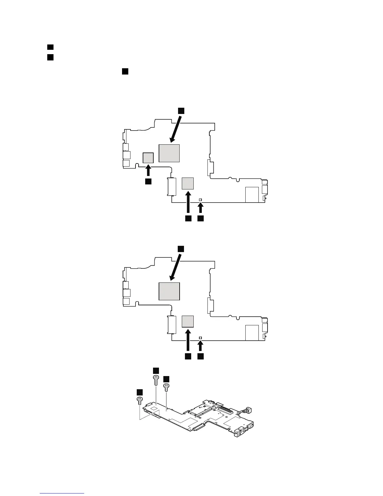
c
PlatformControllerHub(PCH)
d
GraphicProcessingUnit(GPU)(Discretegraphicschip)
Note:TheGPUdisonlyformodelswiththeswitchablegraphics.Modelswithintegrated
graphicsdonothaveaGPUonthesystemboard.
ForSwitchableGraphicsmodels:
b
c
d
a
ForIntegratedGraphicsmodels:
b
c
a
1
2
1
Chapter8.RemovingandreplacingaFRU107

Table of Contents

Related product manuals