EasyManua.ls Logo

Toshiba RAS-10NAV-E - Outdoor Unit; 6 Refrigerant Cycle Diagram

Toshiba RAS-10NAV-E
77 pages
Print Icon
To Next Page IconTo Next Page
To Next Page IconTo Next Page
To Previous Page IconTo Previous Page
To Previous Page IconTo Previous Page
Loading...
FILE NO. SVM-05026
– 18 –
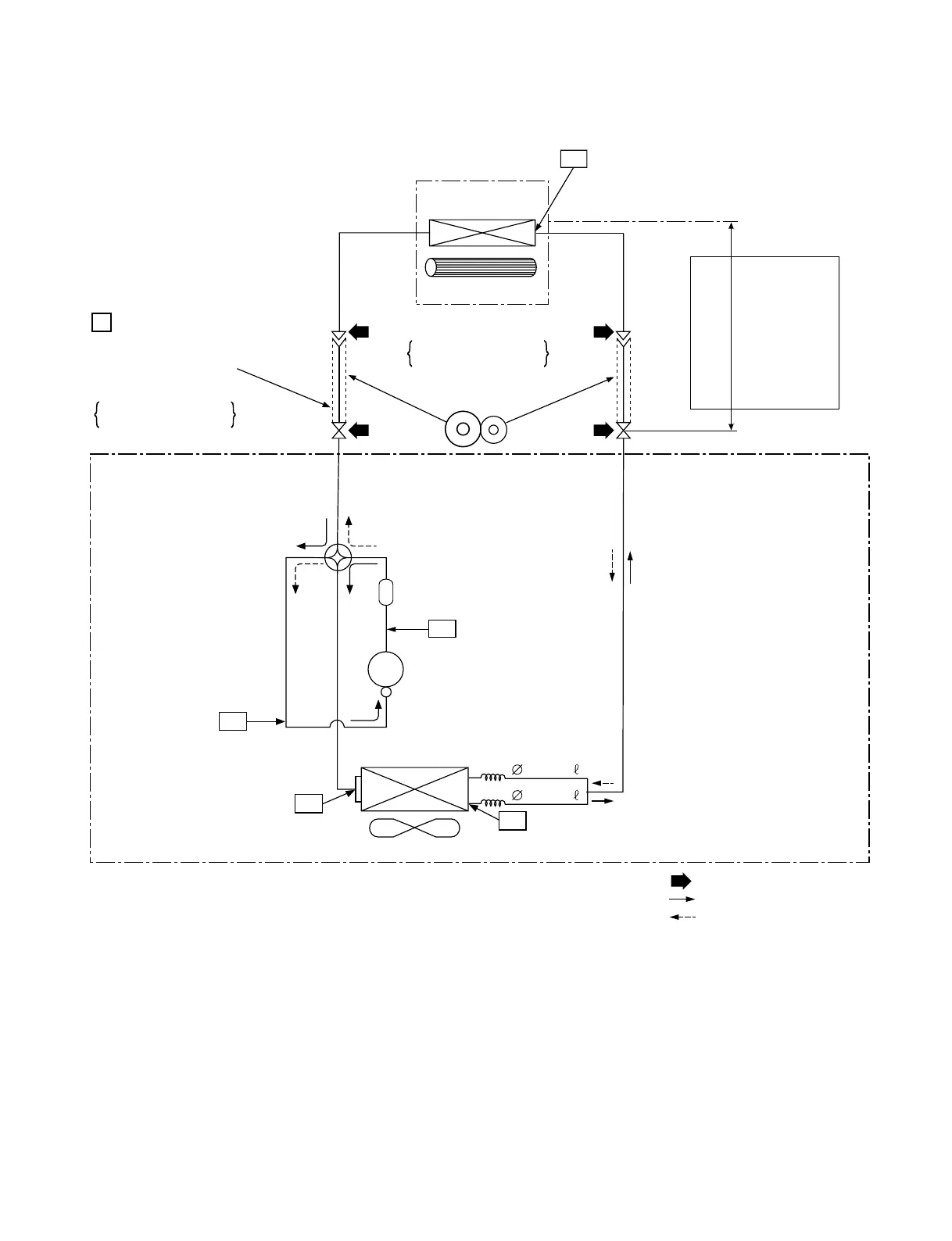
6. REFRIGERANT CYCLE DIAGRAM
6-1. Refrigerant Cycle Diagram
Note :
The maximum length of the pipe for this air conditioner is 10 m. The additional charging of refrigerant is
unnecessary because this air conditioner is designed with charge-less specification.
Indoor heat
exchanger
Deoxidized copper pipe
Pressure measurement
Gauge attaching port
Vacuum pump connecting port
P
Sectional shape
of heat insulator
Outer dia. : 6.35mm
Thickness : 0.80mm
Deoxidized copper pipe
4-way valve
Outer dia. : 9.52mm
Thickness : 0.80mm
INDOOR UNIT
Cross flow fan
Temp. measurement
Muffler
TD
Compressor
DA89X1F-23F
Split capillary
Refrigerant amount : 0.64kg
NOTE: Gas leak check position
Refrigerant flow (Cooling)
Refrigerant flow (Heating)
Outdoor heat
exchanger
Temp. measurement
Propeller fan
TS
Max. :10m
Allowable height
difference : 8m
Allowable pipe length
T1
T2
TE
OUTDOOR UNIT
1.0x600
1.0x600

Related product manuals