EasyManua.ls Logo

Toshiba TS2100 - Page 99

Toshiba TS2100
115 pages
To Next Page IconTo Next Page
To Next Page IconTo Next Page
To Previous Page IconTo Previous Page
To Previous Page IconTo Previous Page
Loading...
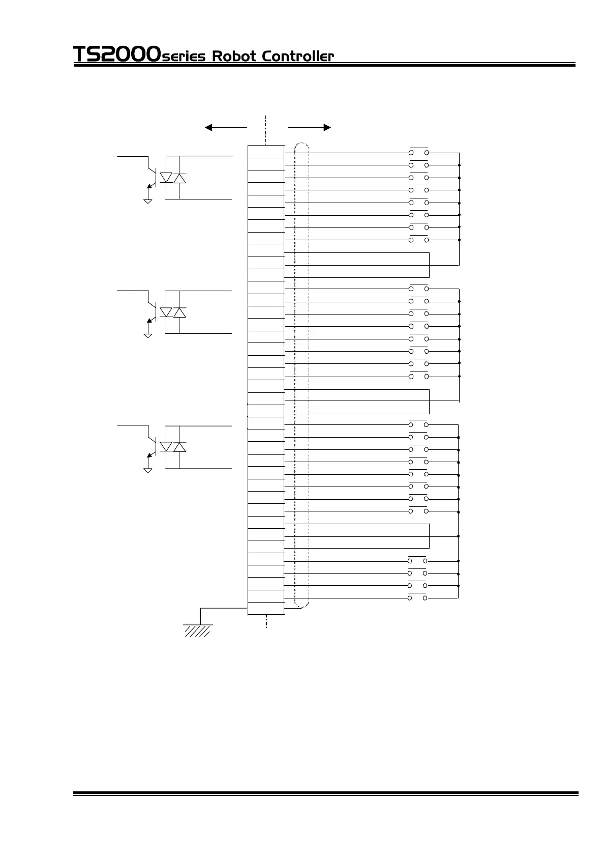
INTERFACE MANUAL
INPUT
TR48DIOCN User side
1
20
2
21
3
22
4
23
5
24
6
25
7
26
8
27
9
28
10
29
11
30
12
31
13
32
14
33
15
34
16
17
36
18
37
19
Case
DI_102/DI_134
P24V
P24G
INCOM1
P24V
P24G
INCOM2
P24V
P24G
INCOM3
DI_101
~
DI_108
~
INCOM1
Note 1:
An example connection of DI_101 ~
108 /DI_133 ~ 140 as shown in the
figure above is the source type.
INCOM2
INCOM3
Station 0/Station 1
DI_133 DI_140
DI_101/DI_133
DI_103/DI_135
DI_104/DI_136
DI_105/DI_137
DI_106/DI_138
DI_107/DI_139
DI_108/DI_140
DI_109
~
DI_116
~
DI_141 DI_148
Note 2:
An example connection of DI_109 ~
116 /DI_141 ~ 148 as shown in the
figure above is the source type.
DI_109/DI_141
DI_110/DI_142
DI_111/DI_143
DI_112/DI_144
DI_113/DI_145
DI_114/DI_146
DI_115/DI_147
DI_116/DI_148
DI_117
~
DI_128
~
DI_149 DI_160
Note 3:
An example connection of DI_117 ~
128 /DI_149 ~ 160 as shown in the
figure above is the source type.
DI_117/DI_149
DI_118/DI_150
DI_119/DI_151
DI_120/DI_152
DI_121/DI_153
DI_122/DI_154
DI_123/DI_155
DI_124/DI_156
DI_125/DI_157
DI_126/DI_158
DI_127/DI_159
DI_128/DI_160
(Station 0/Station 1):
Signal name of DIN command
(101/133)
(102/134)
(103/135)
(104/136)
(105/137)
(106/138)
(107/139)
(108/140)
(109/141)
(110/142)
(111/143)
(112/144)
(113/145)
(114/146)
(115/147)
(116/148)
(117/149)
(118/150)
(119/151)
(120/152)
(121/153)
(122/154)
(123/155)
(124/156)
(125/157)
(126/158)
(127/159)
(128/160)
35
FG
STE 71367
– 99 –

Table of Contents

Related product manuals