EasyManua.ls Logo

Trane PTEC-150 - Page 23

Trane PTEC-150
64 pages
Print Icon
To Next Page IconTo Next Page
To Next Page IconTo Next Page
To Previous Page IconTo Previous Page
To Previous Page IconTo Previous Page
Loading...
23
PTEC-M-1A
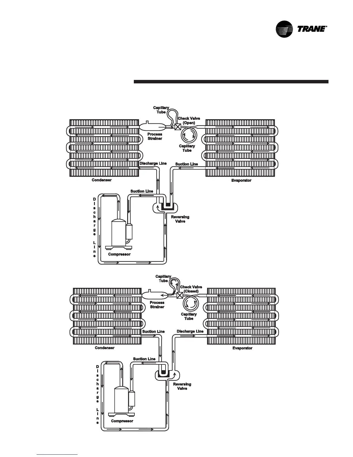
Refrigeration
System
Refrigeration Sealed System Heat Pump (Air Conditioning Model)
Refrigeration Sealed System Heat Pump (Heat Pump Model)

Related product manuals