EasyManua.ls Logo

Truper SCI-10 - Ajustes

Truper SCI-10
Print Icon
To Next Page IconTo Next Page
To Next Page IconTo Next Page
To Previous Page IconTo Previous Page
To Previous Page IconTo Previous Page
Loading...
8
Ajustes
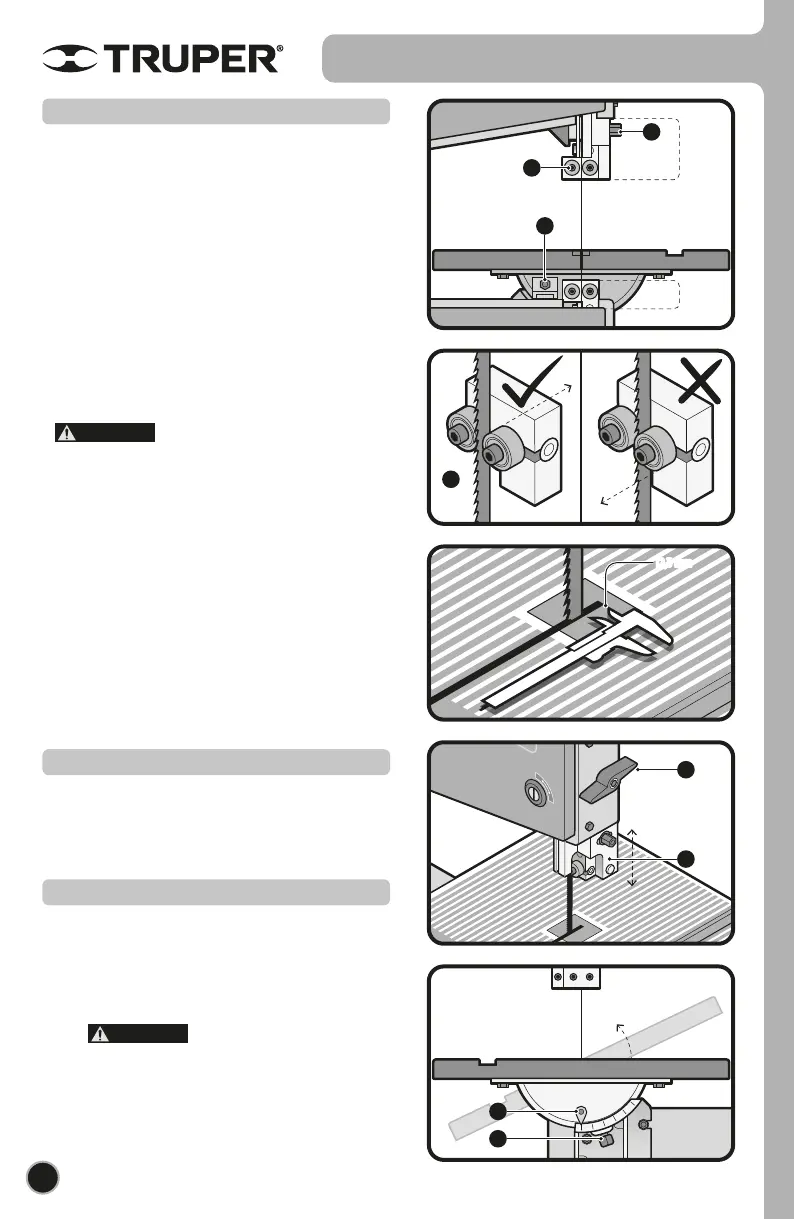
• Afloje la perilla (D) de ajuste de altura de la guía de corte
y coloque la guía a la altura deseada (E). La guía de corte
debe quedar a 4 mm de distancia de la pieza de trabajo.
• Apriete la perilla para fijar la altura de la guía de corte.
Altura de la guía de corte
• Para asegurar cortes limpios y un óptimo desempeño de
la sierra, la cinta de corte debe correr por las guías de corte
(superior e inferior).
• Estas guías cuentan con un sistema de baleros que
mantienen la cinta de corte en su lugar mientras se realiza
un corte. Los baleros se ubican a los costados y detrás de la
cinta de corte.
• Con la cinta en tensión los baleros deben de quedar a una
distancia de 0,5 mm de la cinta. No permita que la cinta
corra en contacto con los baleros, pues la fricción generada
sería contraproducente para la cinta y las guías de corte.
• Cada balero está asegurado con un tornillo Allen (A) que
se puede aflojar para ajustar la posición del balero. Además
cada guía cuenta con un tornillo de cabeza hexagonal (B)
para acercar o alejar el sistema de baleros a la cinta de corte
dependiendo del tamaño de la cinta.
• Es importante que los baleros queden
detrás de los dientes de corte como se indica en el gráfico C
para evitar vibraciones o desgaste en la sierra de corte. De
no ser así haga el ajuste antes de encender la sierra cinta.
• Una vez realizados todos los ajustes la distancia de
separación entre la sierra y el extremo de la ranura deberá
de ser de 12,3 mm y no debe de haber contacto o
rozamiento entre la sierra y el perfil de la ranura.
Guías de la cinta
• Para realizar cortes en bisel modifique el ángulo de la
mesa de trabajo aflojando la perilla de bloqueo del ángulo
de corte (F).
• Incline la mesa de trabajo hasta obtener el ángulo
deseado señalado por el puntero (G).
• Apriete firmemente la perilla de bloqueo del ángulo de
corte. • Asegúrese de apretar firmemente
la perilla antes de realizar cortes en bisel.
Ajuste del ángulo de corte
A
F
G
B
B
D
C
E
Guía
superior
Guía
inferior
ATENCIÓN
ATENCIÓN
12,3 mm
ESPAÑOL

Related product manuals