EasyManua.ls Logo

Truper SCI-10 - Adjustments; Band Guide Adjustments; Cutting Guide Height Adjustment; Cutting Angle Adjustment

Truper SCI-10
Print Icon
To Next Page IconTo Next Page
To Next Page IconTo Next Page
To Previous Page IconTo Previous Page
To Previous Page IconTo Previous Page
Loading...
8
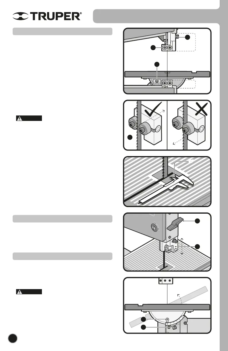
Adjustments
• Loosen the adjusting knob (D) of the cutting guide and set
the guide into the desired height (E). The cutting guide shall
stay at 5/32” distance of the work piece.
• Tighten the knob to fix the cutting guide height.
Cutting Guide Height
• To assure clean cuts and optimal performance of the saw,
the cutting blade shall run through the cutting guides
(upper and lower).
• These guides have a bearing system that keep the cutting
band in place while making the cut. The bearings are
located in the sides and in back of the cutting band.
• With the tensed band the bearings shall sit 1/64” from
the band. Do not allow the band to run in contact with the
bearings as friction generated would be counterproductive
for the band and the cutting guides.
• Each bearing is secured with an Allen screw (A) which
can be loosened to adjust the bearing position. And each
guide has a hex head screw (B) to bring over or move
away the bearing system to the cutting band, depending
on the band size.
• It is important that the bearings stay
behind the cutting teeth as indicated in figure C to prevent
vibration or wear out in the cutting saw.
• Once all the separation distance adjustments carried out
the separation distance between the saw and the edge of
the slot shall be 1/2”, there shall be no contact or friction
between the saw and the slot profile.
Band Guides
• To make bevel cuts modify the angle of the work table
loosening the cutting angle block knob (F).
• Tilt the work table until gaining the desired angle signaled
by the pointer (G).
• Tighten firmly the cutting angle block knob.
• Make sure the knob is tightened before
making bevel cuts.
Adjust the Cutting Angle
A
F
G
B
B
D
C
E
Upper
Guide
Lower
Guide
1/2”
CAUTION
CAUTION
ENGLISH

Related product manuals