EasyManua.ls Logo

Uponor Smatrix Move PLUS - Konfi Gurere Systemet

Uponor Smatrix Move PLUS
300 pages
Print Icon
To Next Page IconTo Next Page
To Next Page IconTo Next Page
To Previous Page IconTo Previous Page
To Previous Page IconTo Previous Page
Loading...
HURTIGVEILEDNING
208
UPONOR SMATRIX MOVE PLUS ·
HURTIGVEILEDNING
UK
CZ
DE
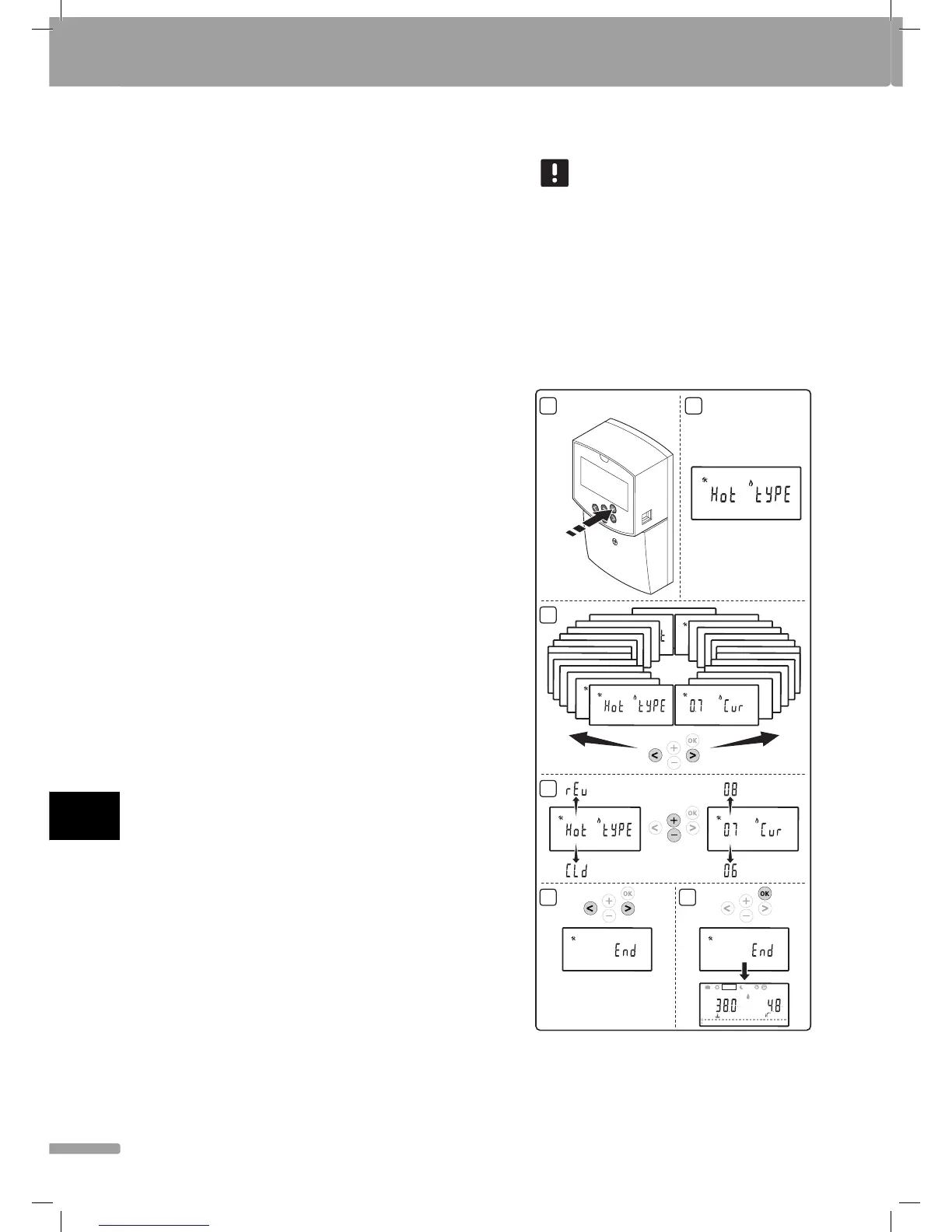
DK
EE
ES
FI
FR
HR
HU
IT
LT
LV
NL
NO
PL
PT
RO
RU
SE
SK
15. Termostat T-166, T-167 og T-168
15.1 Trykk og hold inne OK-knappen på termostaten
i ca. 5 sekunder for å åpne innstillingsmenyen.
Innstillingsikonet og menynumrene vises
i øverste høyre hjørne på displayet.
15.2 Bruk knappene og + for å bytte nummeret til
04, og trykk på OK. Gjeldende kontrollmodus
vises (RT, RFT, RS eller RO).
15.3 Bruk knappene og + for å bytte kontrollmodus
til RO, og trykk på OK.
15.4 Bruk knappene og + for å bytte nummeret
til 09, og trykk på OK. Teksten Int YES vises
hvis termostaten allerede er registrert som en
referanseromtermostat.
15.5 Bruk knappene og + til å endre Int YES til
Int CNF.
15.6 Indikatoren for tilkobling blinker
i termostatdisplayet for å vise at
registreringsprosessen starter.
15.7 Gjeldende utetemperatur vises i kontrollerens
display, og teksten Int YES vises
i termostatdisplayet når registreringen er
fullført.
15.8 Trykk og hold inne OK på termostaten i ca.
5 sekunder for å lukke innstillingsmenyen.
Du kan også vente i ca. 70 sekunder til
programvaren lukker menyen selv.
Termostat T-163
15.1 Trykk og hold inne registreringsknappen
på termostaten, slipp den når LED-dioden
begynner å blinke grønt (i hullet over
registreringsknappen).
15.2 Gjeldende utetemperatur vises i kontrollerens
display når registreringen er fullført. Det kan
ta litt tid før termostaten sender gjeldende
temperatur til kontrolleren. I mellomtiden vises
00.0.
16. Trykk OK på kontrolleren for å bekrefte endringen
og gå tilbake til systemparameterinnstillingene.
Avslutte registreringen
LEGG MERKE TIL
Hvis du skal endre systemparameterinnstillinger,
må du gå til avsnittet Konfi gurere systemet
> Trinn 3.
17. Bruk knappene < og > for å fi nne parameter
24 (End) – Avslutt innstilling av systemparametre.
18. Trykk OK-knappen for å lukke
systemparametermenyen.
Konfi gurere systemet
Endre systemparameterinnstillingene for å konfi gurere
systemet.
13
14
C
12
15 11
16
C
10
17
1 2
3
4
5
6
7
9
18 8
19
C
7
20 6
21 5
22 4
23 3
24
2
0h
0h
1
1
0h
0h 2 10 12 14 16 18 20
C
P
C
AUTO
22 24468
1 2
3
4
5 6
24
24
10 s

Table of Contents

Related product manuals