EasyManua.ls Logo

USSC 5660 - Mobile Home Installation

USSC 5660
80 pages
Print Icon
To Next Page IconTo Next Page
To Next Page IconTo Next Page
To Previous Page IconTo Previous Page
To Previous Page IconTo Previous Page
Loading...
24
MOBILEHOMEINSTALLATION
MobilehomeinstallationshouldbedoneinaccordancewiththeManufacturedHomeandSafetyStandard(HUD),CFR3280,
Part24.Canadianinstallationsrequirethattheheatermustbeconnectedtoa3or4inch,factorybuiltchimneyconforming
toCAN/ULCS629.Seetheinstallationillustrationsinthismanualforminimum
heightabovetheroof.U.S.Stovesuggeststhe
use of Selkirk’s Pellet Venting Products. Refer to their installation instructions for proper installation of the exhaust and
combustion air intake. The chimney installation must allow for removal in case of mobile home transportation, especially
outsideconnections.Youmaycontactyourlocal
buildingauthorityorpersonhavingjurisdictiononheightrestrictions.
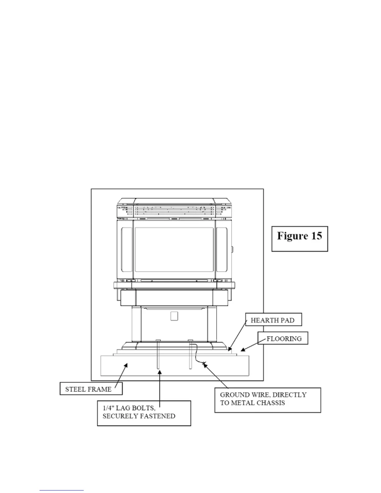
Inorderforthisunittobeinstalledinamobilehomethefollowingcriteriamustbemet:
Theunitmustbesecuredtothefloorusinglagboltsintheholesprovidedinthepedestalbase.
Ensurethatthe
unitispermanentlyelectricallygroundedtothechassisofyourhome.
IT IS MANDATORY TO TAKE THE COMBUSTION AIR FROM THE OUTSIDE WHEN INSTALLING THIS UNIT IN AIR TIGHT OR
MANUFACTURED/MOBILEHOMES.
CAUTION: THE STRUCTURAL INTEGRITY OF THE MANUFACTURED HOME FLOOR, WALL, AND CEILING/ROOF MUST BE
MAINTIANED.MAKESURETO
MAINTAINANEFFECTIVEVAPORBARRIERBYSEALINGWITHSILICONEWHERETHECHIMNEYOR
OTHER COMPONENTS PENETRATE TO THE EXTERIOR OF THE STRUCTURE. REFER TO AND FOLLOW THE CHIMNEY
MANUFACTURER’SINSTALLATIONINSTRCUTIONS.
WARNING:DONOTINSTALLINSLEEPINGROOM.

NOTE:Onlythefreestandingmodelisforinstallationintoamobilehome.

Related product manuals