EasyManua.ls Logo

USSC 5660 - Installations en Maison Mobile

USSC 5660
80 pages
Print Icon
To Next Page IconTo Next Page
To Next Page IconTo Next Page
To Previous Page IconTo Previous Page
To Previous Page IconTo Previous Page
Loading...
24
INSTALLATIONENMAISONMOBILE
L’installationenmaisonmobiledoitêtrefaiteenconformitéaveclanormedesécuritépourmaisonpréfabriquéeHUD,
CFR3280,
Partie
24. Les installations au Canada nécessitent que le poêle soit connecté à une cheminée d’usine en 3 ou 4 pouces
conformémentàCAN/ULCS629.Consultezlesillustrationsd’installationsdanscemanuelpourlahauteurminimaleaudessusdu
toit. U.S. Stove suggère l’utilisation de produits de ventilation pour granulés de Selkirk.
Référezvous à leurs instructions
d’installation pour une bonne mise en place de l’évacuation et de l’admission d’air de combustion. L’installation de cheminée
doit permettre un démontage en cas de déplacement de la maison mobile, en particulier les connexions à l’extérieur. Vous
pouvezcontacterlesautoritésdeconstructionlocalesou
unepersonneayantjuridictionpourlesrestrictionssurleshauteurs.
Pourquecetteunitépuisseêtreinstalléedansunemaisonmobilelescritèresquisuiventdoiventêtreremplis:
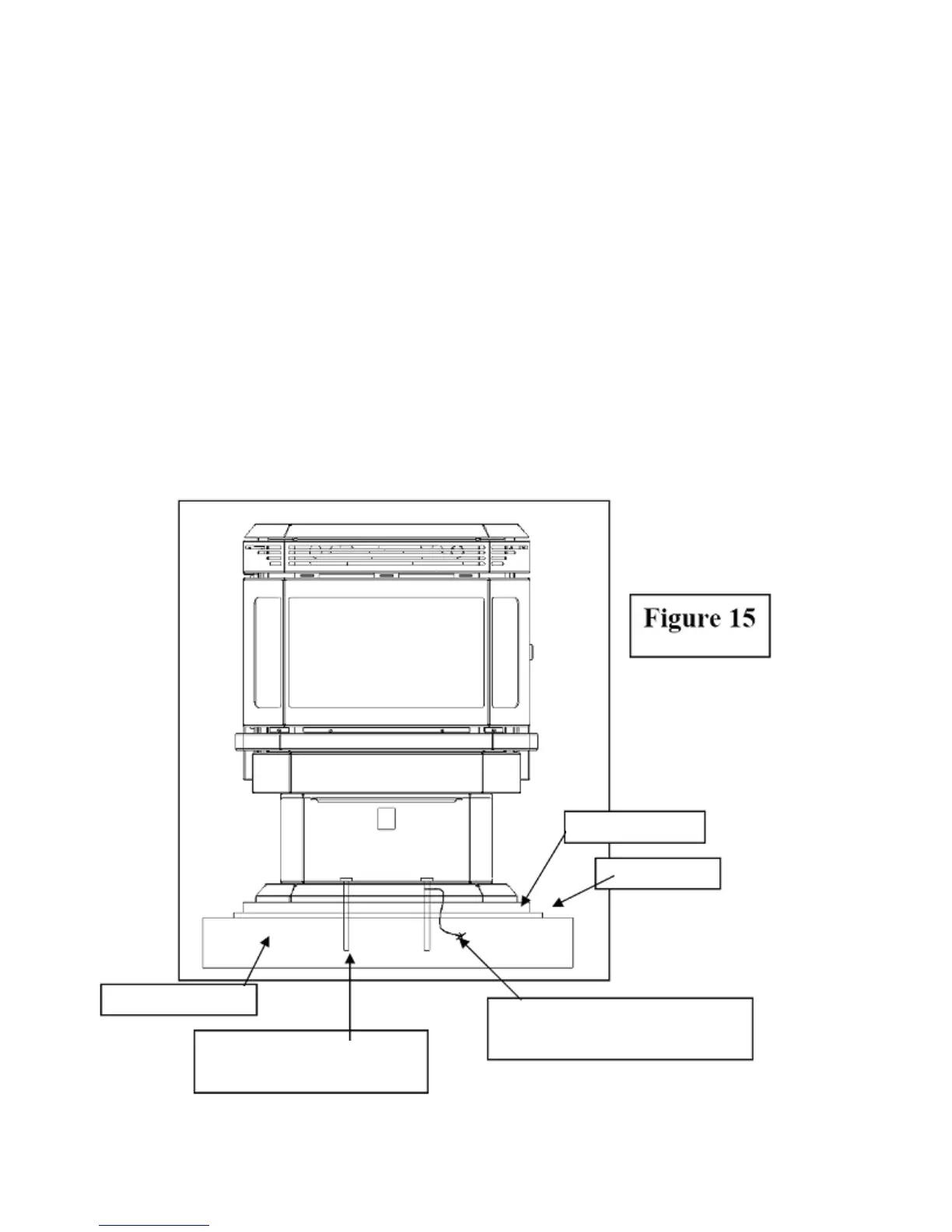
L’unitédoitêtresolidementfixéeauplancherenutilisantdestirefonddanslestrousfournisdanslepiédestal.
Assurezvousquel’unitéestreliéeenpermanenceàlaterrevialechâssisdevotremaison.
ILESTOBLIGATOIREDEPRÉLEVERL’AIRDECOMBUSTIONDEL’EXTÉRIEURENINSTALLANTCETTEUNIDANSDES
DOMICILESÉTANCHESOUDESMAISONSPRÉFABRIQUÉES/MOBILES.
ATTENTION:ILFAUTPRÉSERVERL’INTÉGRITÉSTRUCTURELLEDELAMAISONPRÉFABRIQUÉE(PLANCHER,
CLOISONS,
PLAFOND/TOIT).ASSUREZVOUSDECONSERVERUNEBARRIÈREEFFICACEPARLESCELLAGEAVECDUSILICONE
PÉNÈTRENTLACHEMINÉEOUD’AUTRESCOMPOSANTSVERSL’EXTÉRIEURDELASTRUCTURE.
AVERTISSEMENT:N’INSTALLEZPASLEPOÊLEDANSLACHAMBRE.
REMARQUE:Seullemodèleautonomepeuts’installerdansunemaisonmobile.
TAPISCONDUCTEUR
PLANCHER
FILDETERRE,DIRECTEMENTAU
CHÂSSISMÉTALLIQUE
TIREFONDDE1/4”,BIENSERRÉS
STRUCTUREENACIER

Related product manuals