EasyManua.ls Logo

VALTIR QuadGuard - Page 27

Default Icon
68 pages
Print Icon
To Next Page IconTo Next Page
To Next Page IconTo Next Page
To Previous Page IconTo Previous Page
To Previous Page IconTo Previous Page
Loading...
Valtir.com 26 Revision D November 2022
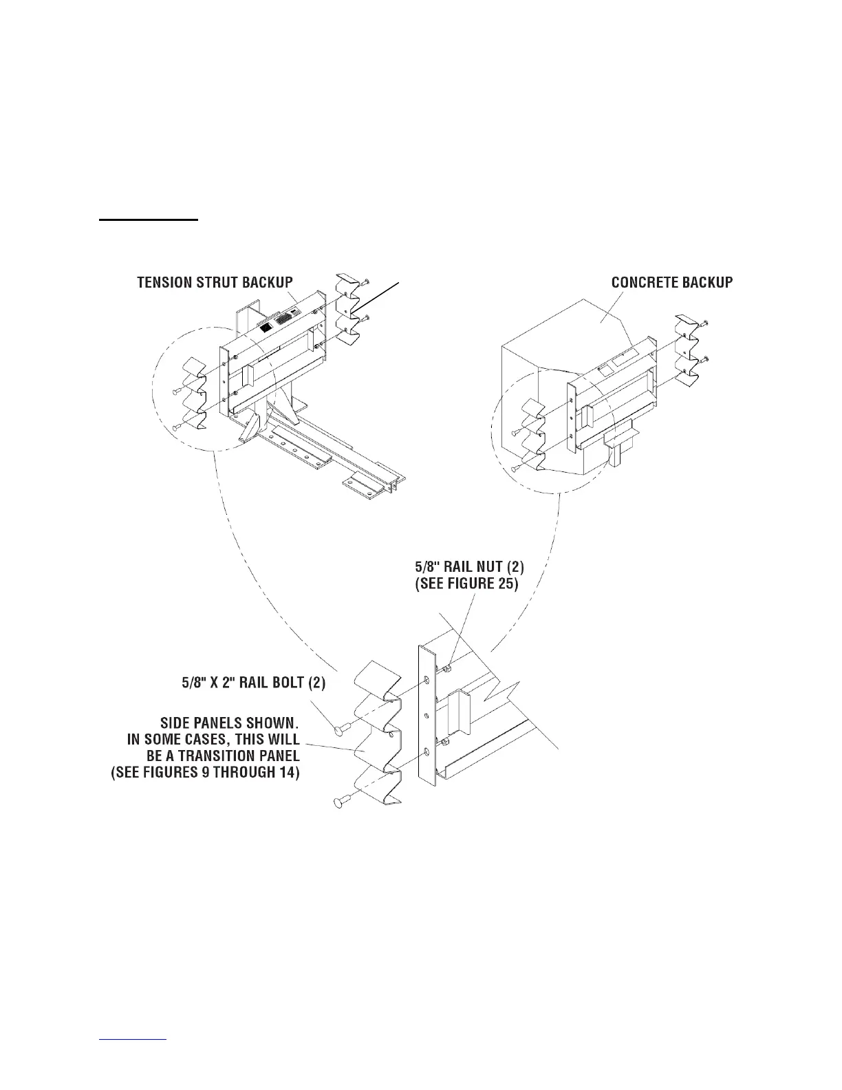
5) Attach Side Panels and/or Transition Panels to Backup Assembly
Attach Transition Panel or Side Panel to side of Backup using 5/8” rail bolt and 5/8” rail nut
(two places - top and bottom holes only). See Figure 22 and Backup Assembly drawing.
Note: A Side Panel is not needed when a Transition Panel is used.
Assembly tip:
Use drift pin to align the center hole of the Panel with the center hole of the Backup before
inserting the rail bolts.
Figure 22
Side Panel/Transition Panel Attachment
NARROW SIDE PANEL

Related product manuals