EasyManua.ls Logo

VALTIR QuadGuard - Page 52

Default Icon
68 pages
Print Icon
To Next Page IconTo Next Page
To Next Page IconTo Next Page
To Previous Page IconTo Previous Page
To Previous Page IconTo Previous Page
Loading...
Valtir.com 51 Revision D November 2022
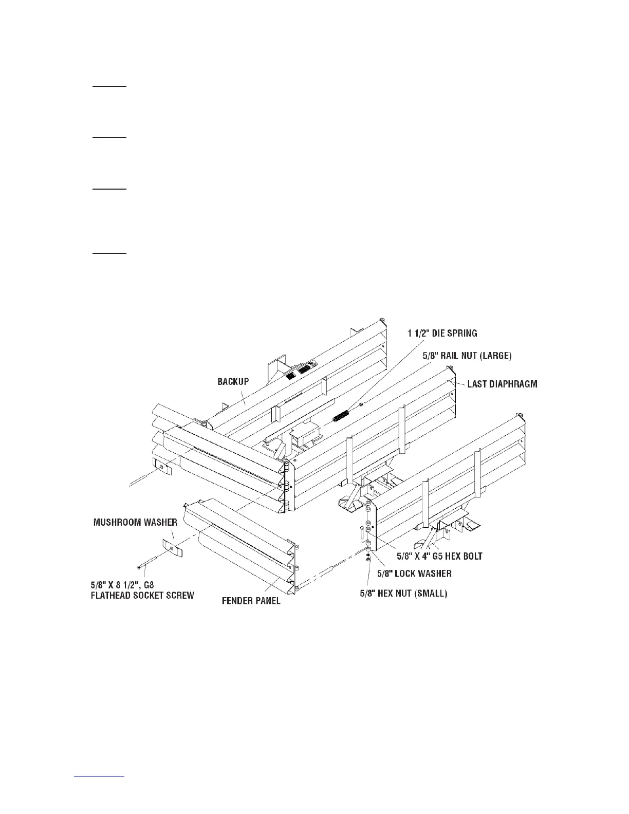
Step 2
Slide the Fender Panel forward until the holes in the Fender Panel line up with the holes
in the forward Diaphragm.
Step 3
Use a drift pin to align the center hole of the Fender Panel with the center hole of the
Diaphragm.
Step 4
Attach the front of the Fender Panels to the next Diaphragm using two (2) rail bolts and
large hex nuts per side. Use only the top and bottom holes; leave the center hole open
until the next Fender Panel is attached.
Step 5
Be sure Mushroom Washer lays flat against the Fender Panel as shown in Detail 61a.
Standoff on Mushroom Washer must be seated completely through slot.
Figure 61
Fender Panel Assembly

Related product manuals