EasyManua.ls Logo

VDO BVDR 2.0 - Cambio de Conductores

VDO BVDR 2.0
Print Icon
To Next Page IconTo Next Page
To Next Page IconTo Next Page
To Previous Page IconTo Previous Page
To Previous Page IconTo Previous Page
Loading...
Edición 08/2023 © Continental Automotive 57
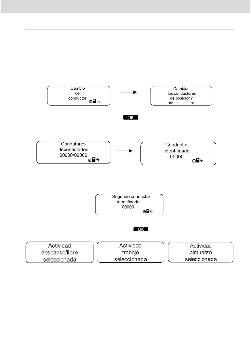
2.5.9 Cambio de conductores
Cuando haya que cambiar de conductor, es obligatorio que el segundo
conductor tenga un registro manual o una tarjeta NFC diferente del primero.
Para utilizar esta función, es necesario activar previamente la "conexión del
segundo conductor" en el menú de configuración y tener registrados 2
conductores. Al seleccionar la opción "Intercambio de conductores" en el menú
del conductor, se le pedirá que confirme el intercambio
Para seguir adelante, pulse el botón . Entonces aparecerá la información
de que los conductores han sido desconectados de sus posiciones actuales e
identificará al conductor principal.
A continuación, se le pedirá que seleccione la actividad del conductor
identificado como principal. Tras la selección, se identificará el segundo
conductor.
A continuación, se mostrarán las pantallas de confirmación de la actividad y
de intercambio realizado. Pulse el botón para volver al menú principal

Table of Contents

Related product manuals