EasyManua.ls Logo

VDO BVDR 2.0 - Información de Operación en la Cinta Diagrama

VDO BVDR 2.0
Print Icon
To Next Page IconTo Next Page
To Next Page IconTo Next Page
To Previous Page IconTo Previous Page
To Previous Page IconTo Previous Page
Loading...
68 © Continental Automotive Edición 08/2023
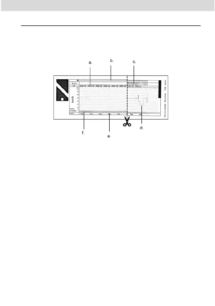
2.5.21 Información de operación en la cinta diagrama
Aplicación estándar
La información de operación del vehículo, impresa en la cinta diagrama, está
de acuerdo con la figura siguiente:
a. Distancia recorrida de acuerdo con la hora impresa en la cinta diagrama
(numérica).
b. Identificación del conductor: indica cuál conductor estaba identificado de
acuerdo con la hora impresa.
c. Distancia recorrida de acuerdo con la hora impresa en la cinta diagrama
(gráfica a cada subida y bajada de la curva, se recorrieron 10 km).
d. Velocidad de pico en el minuto: será representada la mayor velocidad
registrada en el minuto en la cinta diagrama. Se podrá visualizar
solamente la información segundo a segundo con la función de descarga
de datos de la memoria. La velocidad máxima representada es de
150km/h.
e. Hora impresa: últimas 24 horas de operación del vehículo.
f. Fallo de energía: si se ve una línea continua en este área, significa que el
vehículo tuvo la batería principal del vehículo desconectada. En algunas
situaciones de manipulación, se podrá levantar acta contra el conductor.

Table of Contents

Related product manuals