EasyManua.ls Logo

VESDA VLF-500 - Detector Overview and Product Interface

VESDA VLF-500
64 pages
Print Icon
To Next Page IconTo Next Page
To Next Page IconTo Next Page
To Previous Page IconTo Previous Page
To Previous Page IconTo Previous Page
Loading...
VESDA by Xtralis VESDA VLF-500 Product Guide
www.xtralis.com 21
3.2 Branched Pipe Network
The table below shows the appropriate hole sizes for pre-engineered designs for a branched pipe set up.
Branched Pipe Network
(2 branches)
max. length 30 m (90 ft.)
max. distance from detector to branch 5 m (15 ft.)
Sampling
Holes per
Branch
pipe
ID 21 mm Pipe IPS ¾ in. Pipe
Open Hole 5.2 mm
Capillary* with 5
mm hole
Open Hole 3/8 inch
Capillary* with
1/8 inch hole
Hole Size (mm) Length (m) Hole Size (in.) Length (ft.)
3 3.5 5.5 0 2.0 0 12
4 3.0 5.0 0 3.0 0 12
5 3.0 4.0 0 3.0 0 12
6 3.0 4.0 0.2 3.0 0 12
7-12* Use ASPIRE to calculate hole sizes in this range*
Table 3-2: Branched pipe hole numbers and sizes
*For code-specific information, refer to Codes and Standards Information for Air Sampling Smoke Detection on
page iii.
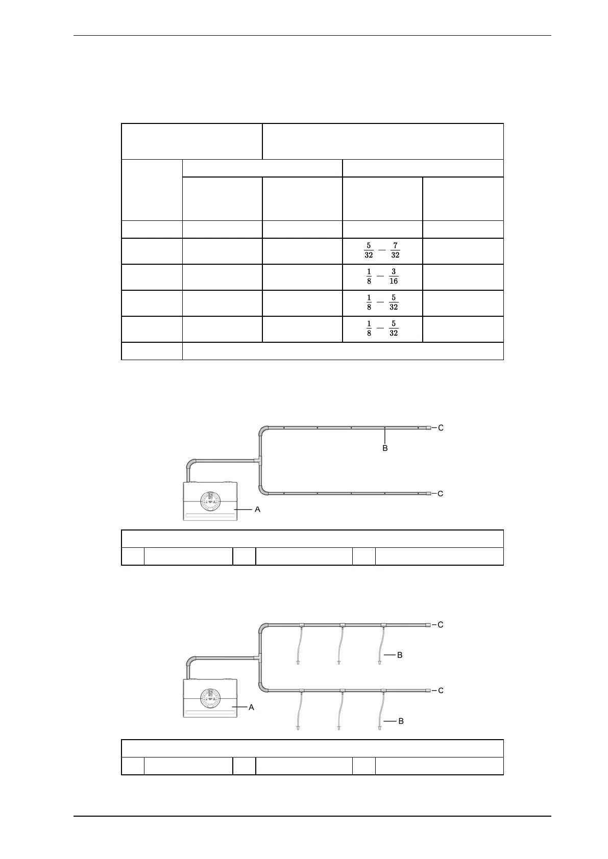
The set up below shows a branched pipe arrangement with 5 sampling holes per branch and fitted end caps
without sampling holes.
Legend
A Smoke Detector B Sampling Hole C End cap (no hole)
Figure 3-3: Open hole, branched pipe
The set up below shows a branched pipe arrangement with 3 capillary drop pipes per branch and fitted end
caps without sampling holes.
Legend
A Smoke Detector B Capillary Tube C End cap (no hole)
Figure 3-4: Capillary pipes, branched pipe

Related product manuals