EasyManua.ls Logo

Viessmann Vitodens 100-E - Page 40

Viessmann Vitodens 100-E
60 pages
Print Icon
To Next Page IconTo Next Page
To Next Page IconTo Next Page
To Previous Page IconTo Previous Page
To Previous Page IconTo Previous Page
Loading...
40
C
D
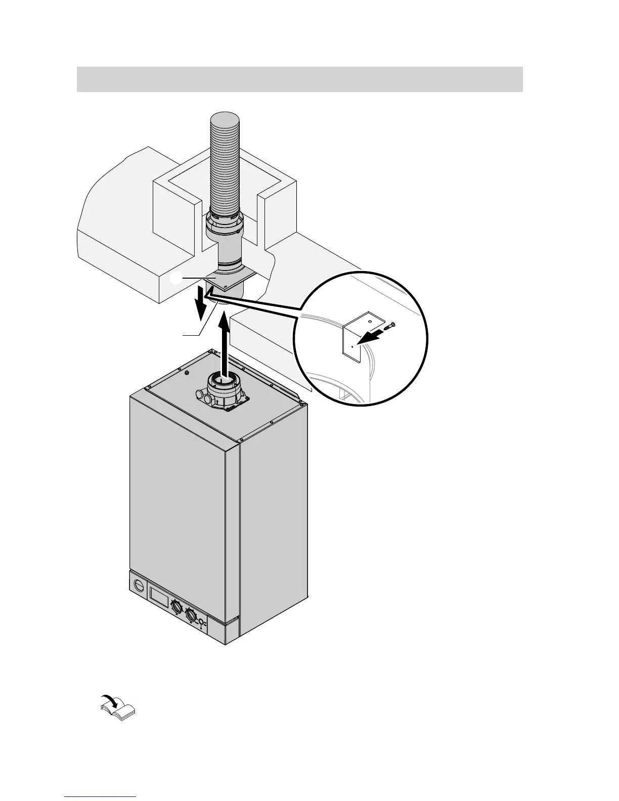
06. Install the Vitodens in the recess.
Vitodens installation and
service instructions
Installation in a disused chimney
(cont.)
5780 223 GB

Related product manuals