EasyManua.ls Logo

Viessmann Vitogate 300 - Connecting the Neutralising System; Neutralising System Setup

Viessmann Vitogate 300
40 pages
Print Icon
To Next Page IconTo Next Page
To Next Page IconTo Next Page
To Previous Page IconTo Previous Page
To Previous Page IconTo Previous Page
Loading...
34
AB
C
D E
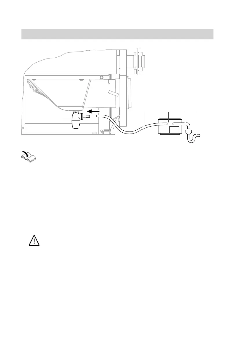
Neutralising system installation
and operating instructions
1.
Site neutralising system A either
behind or adjacent to the boiler.
2.
Mount siphon C (supplied with the
boiler) and fill with water.
3.
Trim plastic hose B supplied to the
required size and connect it to siphon
C
and neutralising system
A
.
Danger
Escaping flue gas can lead to
a health hazard.
Always connect the conden-
sate drain with a siphon to
prevent flue gas escaping.
Note
Route the condensate drain pipe with
a fall below the anti-flooding level of
the flue gas collector.
4.
Connect drain hose D to the con-
densate drain of the neutralising sys-
tem and run to drainage system
E
.
Connecting the neutralising system
5614 451 GB

Other manuals for Viessmann Vitogate 300

Related product manuals