EasyManua.ls Logo

Viking EVC 200 - 6.2 Заправка

Viking EVC 200
Print Icon
To Next Page IconTo Next Page
To Next Page IconTo Next Page
To Previous Page IconTo Previous Page
To Previous Page IconTo Previous Page
Loading...
99
ELRU
0478 983 9900 A - RU
BGUKETMKSQAZ RO LT HUSRHRCSLV
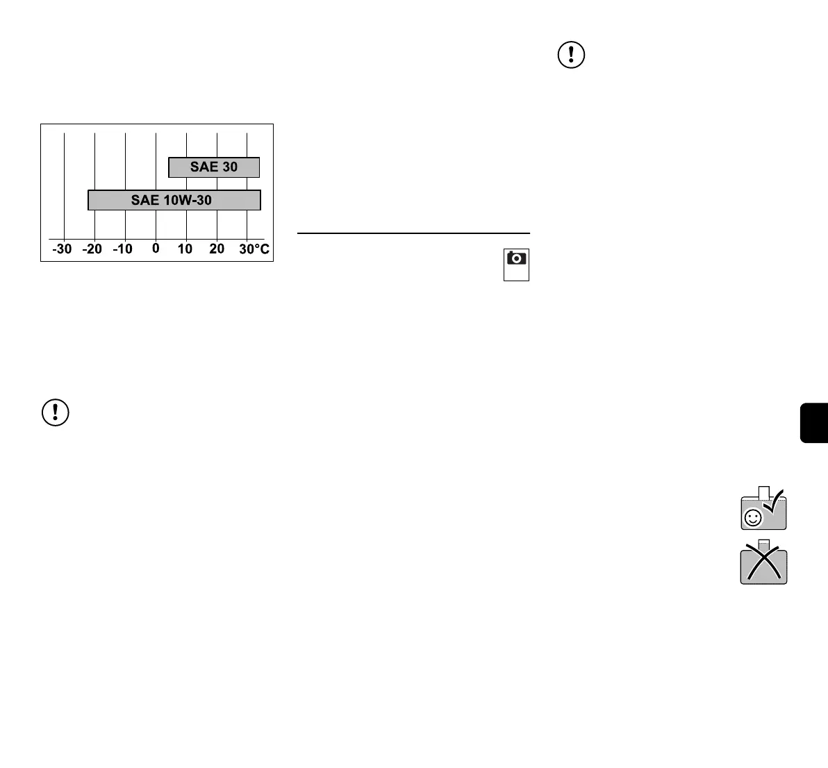
Сорт масла необходимо подобрать в
соответствии с наружной
температурой, которая характерна для
региона эксплуатации устройства по
уходу за садовым участком VIKING.
Эксплуатация при температуре свыше
C:
SAE 30
Эксплуатация при температуре ниже
C:
SAE 10W-30
Объем масла: 0,5 литра
●Поставить устройство по уходу за
садовым участком VIKING на ровную
поверхность, отключить двигатель
внутреннего сгорания.
Открутить и протереть указатель
уровня масла (1).
●Вставить указатель уровня масла (1)
в наливной патрубок маслане
вкручивать.
После этого снова извлечь указатель
уровня масла и считать уровень
масла на измерительной шкале (2).
●При необходимости залить моторное
масло до максимальной отметки.
Использовать подходящую воронку.
●Снова вкрутить указатель уровня
масла (1).
6.2 Заправка
Двигатель внутреннего сгорания
рассчитан на заправку
неэтилированным бензином.
Неэтилированный бензин сгорает с
меньшим количеством отходов,
уменьшает отложения на свече
зажигания и увеличивает срок службы
системы выпуска ОГ.
Требования к топливу:
свежий, чистый неэтилированный
бензин,
октановое число не ниже 85,
максимальное содержание этанола
10 % (E10).
Компания VIKING рекомендует VIKING
MotoPlus. Данное топливо практически
не содержит бензола, серы и вредных
для здоровья ароматических
соединений.
Емкость бака: 0,9 литра
Поставить устройство по уходу за
садовым участком VIKING на ровную
поверхность, отключить двигатель
внутреннего сгорания и дать ему
остыть.
Открутить крышку топливного
бака (1).
●Залить бензин, не
превышая уровень нижней
кромки наливного
патрубка, чтобы оставить
место для расширения
топлива.
Использовать подходящую
воронку.
●Снова закрутить крышку топливного
бака (1).
Не допускать повреждений
устройства!
Двигатель внутреннего сгорания
поставляется без моторного
масла. Поэтому перед вводом
двигателя в эксплуатацию
необходимо залить в него
моторное масло.
Уровень масла ниже или выше
допустимых значений может
привести к повреждениям
двигателя внутреннего сгорания.
3
Не допускать повреждений
устройства!
Компания VIKING рекомендует
всегда использовать свежий
бензин марочных сортов и ни в
коем случае не применять
бензин с добавлением масла
(топливную смесь для
двухтактных двигателей). Не
заливать застоявшееся или
загрязненное топливо.
Исключить попадание
загрязнений и воды в топливный
бак. Запрещается использование
не разрешенного к применению
бензина, например, E85.
При появлении стука или звона
следует сменить марку бензина.
В случае необходимости
компания VIKING рекомендует
обращаться к дилерам VIKING.

Table of Contents