EasyManua.ls Logo

Vivo MOUNT-E-DN55 - Page 7

Vivo MOUNT-E-DN55
12 pages
Print Icon
To Next Page IconTo Next Page
To Next Page IconTo Next Page
To Previous Page IconTo Previous Page
To Previous Page IconTo Previous Page
Loading...
7
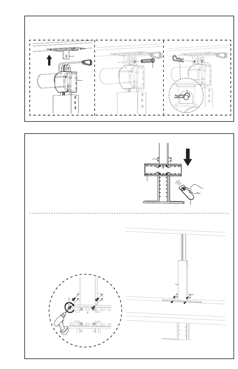
STEP 8
STEP 9
Align the holes from Li Column (A) and Ceiling Plate (I). Insert Clevis Pin (S-A) through the motor and
Ceiling Plate (I). Insert Cotter Pin (S-B) into Clevis Pin (S-A) to secure.
Ensure that Wall Mounting Plate (A1) is not blocked by
VESA Plate (B). If hidden, press the down arrow on RF
Remote (H) to lower the mount to provide better access.
A
S-A
S-B
I
B
H
A1
Wood Installation:
Secure Li Column (A) by installing
ST5.5x16mm Screws (W-A) into Wall
Mounting Plate (A1) using a drill.
W-A
A
A1

Related product manuals