EasyManua.ls Logo

Wacker Neuson LTS4K - Electrical Schematic

Wacker Neuson LTS4K
84 pages
Print Icon
To Next Page IconTo Next Page
To Next Page IconTo Next Page
To Previous Page IconTo Previous Page
To Previous Page IconTo Previous Page
Loading...
wc_tx004609en.fm
81
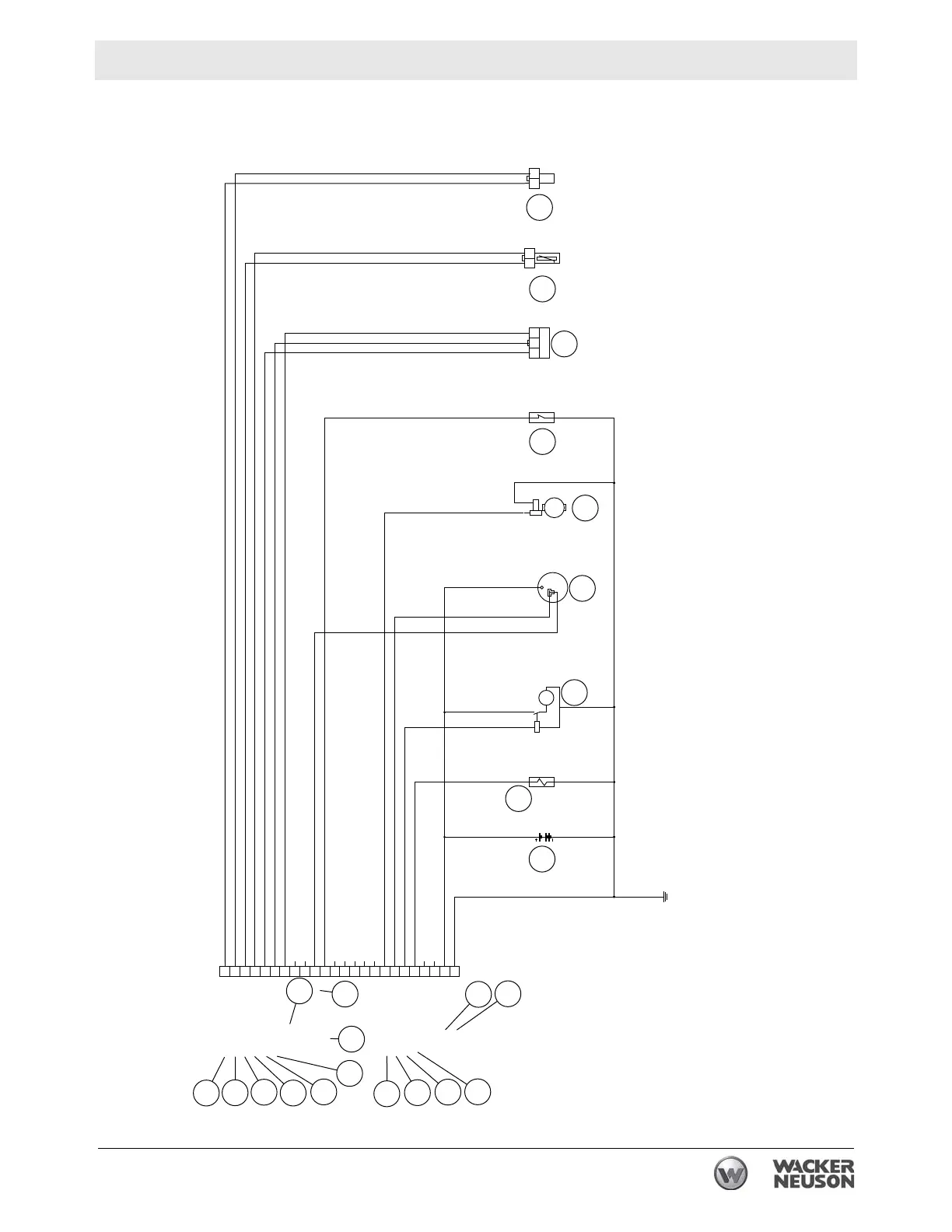
LTS Schematics—LTS4K
14.6 Electrical Schematic
Ba tte r y c h a r ge
alternator
WL
15/54
+
20
gnd
2
sig
43
+12 V
Engine Speed
Sensor
Yaz ak i
Low oil pressure switch
Fuel Pump
-
+
Coolant Temp Sensor
Tyco/AMP
6
SIG
1
GND
M
S tarte r moto r
Actuator S olenoid
S u mi to mo
41
+12 V
36
-12 V
Preheat
12V B attery
C7
C8
C4
C3
Battery charger alternator
B4
A8
Preheating
Fuel pump
Crancking
B1
B5
B6
C2
Battery -
Battery +
Low pressure switch
A5
A4
B8
A1
B3
B2
C1
C6
C5
A7
B7
Actua tor s ol e noi d -
Actua tor s ol e noi d +
Coolant temp. sensor -
Coolant temp. sensor Sig
A6
A3
A2
Speed sensor -
Speed sensor Sig
Speed sensor +12V
IG Battery charger alternator
wc_gr014780
1
2
3
4
5
6
7
8
9
10
11
12
13
14
15
13
20
21
8
10
22
23
3
24

Table of Contents

Related product manuals