EasyManua.ls Logo

WAM TE - Page 125

Default Icon
195 pages
Print Icon
To Next Page IconTo Next Page
To Next Page IconTo Next Page
To Previous Page IconTo Previous Page
To Previous Page IconTo Previous Page
Loading...
1
05.16
TE • TP
-
-
-
-
CON.109.--.T.4L-NL
67
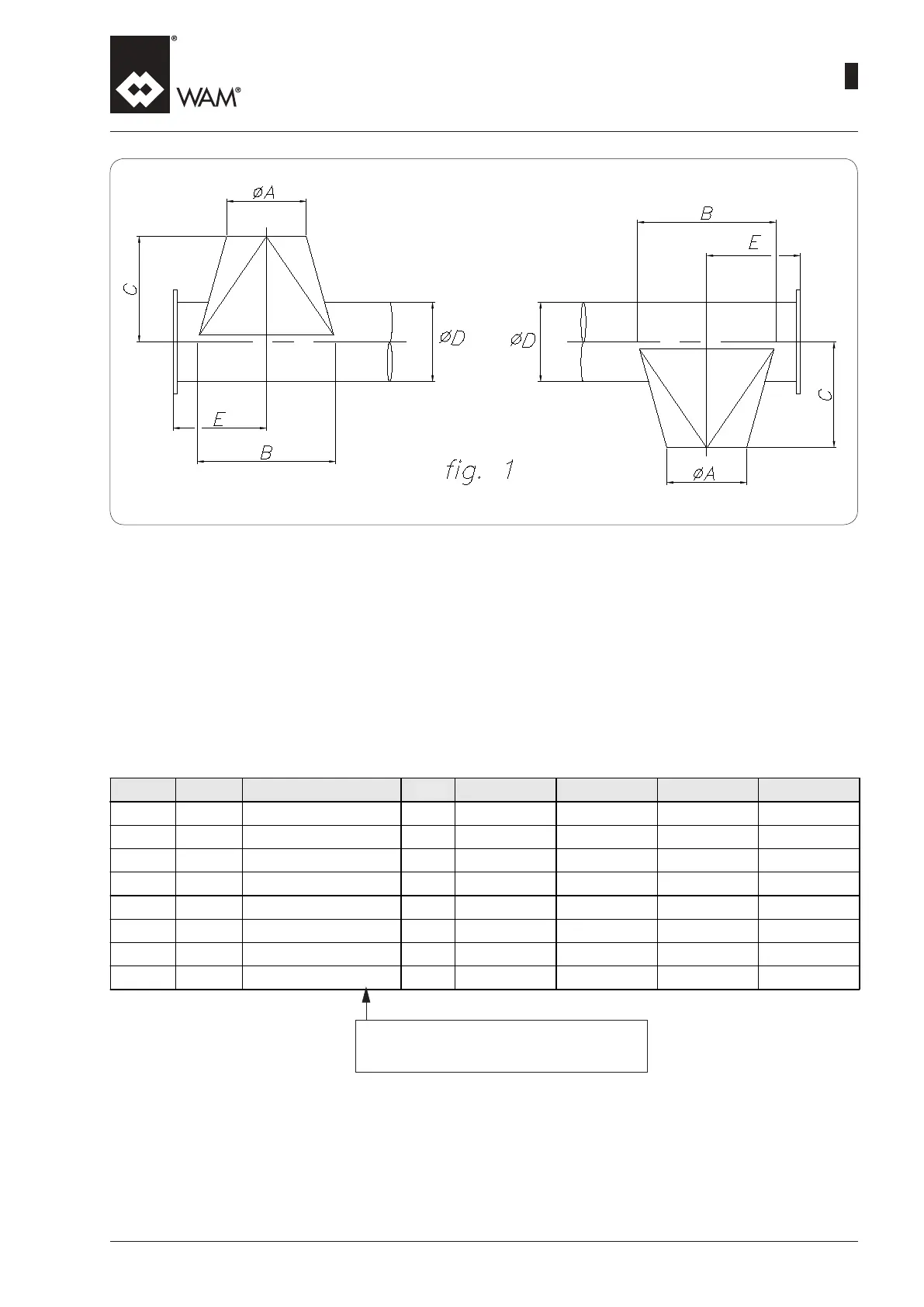
XBE
øD øA Code fig. E B C kg
114 114
XBE114114150_
1 230 200 150 2
139 114
XBE139114225_
1
230 222 225 3
168 168
XBE168168295_
1 230 332 295 4.3
219 219
XBE219219290_
1 260 380 290 6.2
273 273
XBE273273215_
1 280 400 215 5.8
323 323
XBE323323300_
1 320 450 300 8.2
406 406
XBE406406325_
1 420 645
325 12
457 457
XBE457457350_
1 450 700
350 14.5
1= Fe
2=304L st. st. - 1.4306 - Inox 304L - Aisi 304L
3=316L st. st. - 1.4404 - Inox 316L - Aisi 316L
OPTIONS-SPOUTVARIABLESECTION
VARIANTEN-AUSLÄUFEMITVARIABLEMQUERSCHNITT
OPTIONS-BOUCHESASECTIONVARIABLE
OPZIONI-BOCCHEASEZIONEVARIABILE
Afb.

Table of Contents