EasyManua.ls Logo

WAM TE - Page 16

Default Icon
195 pages
Print Icon
To Next Page IconTo Next Page
To Next Page IconTo Next Page
To Previous Page IconTo Previous Page
To Previous Page IconTo Previous Page
Loading...
TE•TP
3
WA.00506.R.
08.02
-
-
-
-
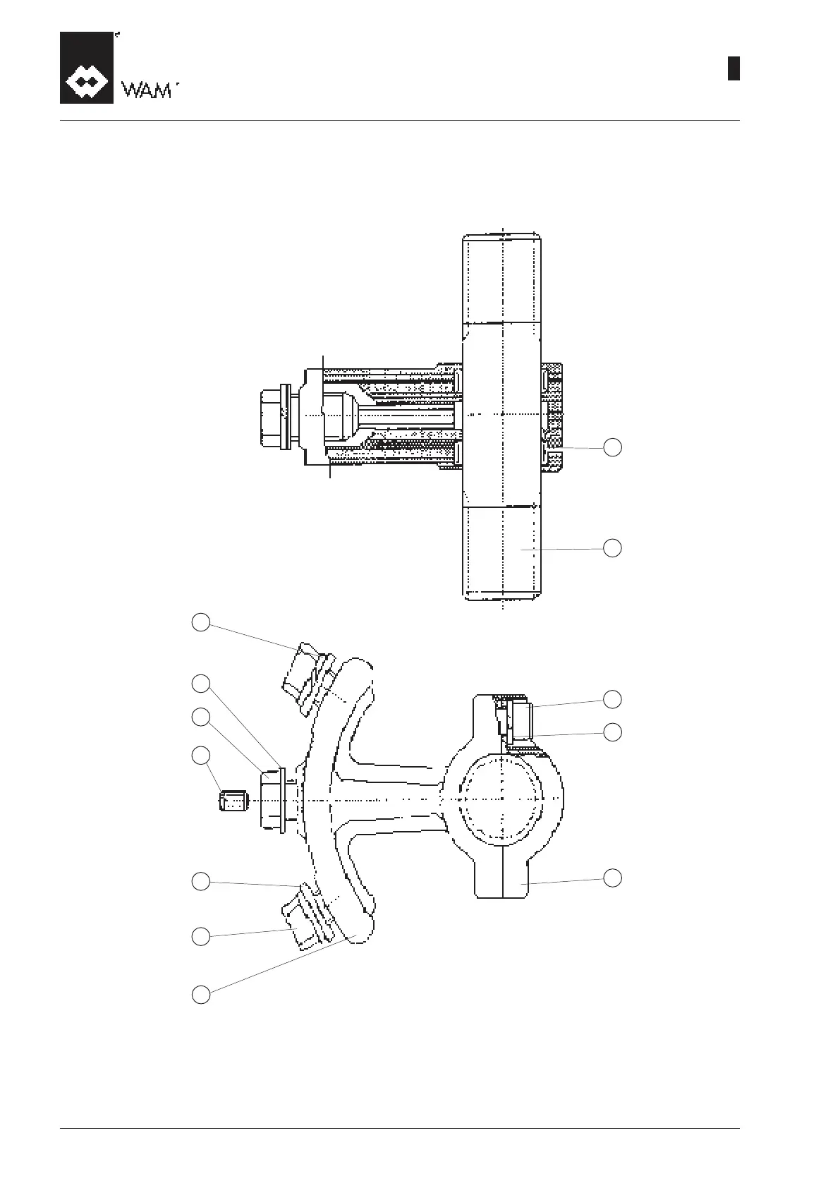
SPARE PARTS
ERSATZTEIL
ÇÀÏÀÑÍÛÅ ×ÀÑÒÈ
PEZZI DI RICAMBIO
3
1
2
8
9
10
11
5
16
14
6
13
XLR
INTERMEDIATE BEARING
ZWISCHENLAGER
ÏÐÎÌÅÆÓÒÎ×ÍÛÉ ÏÎÄØÈÏÍÈÊ
SUPPORTO INTERMEDIO
12

Table of Contents