EasyManua.ls Logo

WarmFlow Utility U90HE - Optional Programmer (PC1) for Non-Combi Models

Default Icon
92 pages
Print Icon
To Next Page IconTo Next Page
To Next Page IconTo Next Page
To Previous Page IconTo Previous Page
To Previous Page IconTo Previous Page
Loading...
Page 43
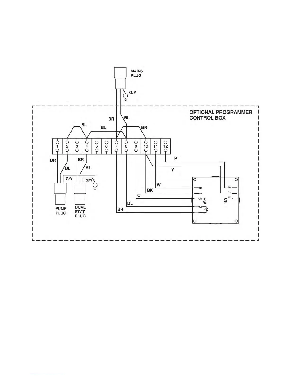
6.6 Optional Programmer (PC1) for Non-Combi Models
6.6.1 Programmer Control Box Wiring Diagram
6.6.2 General Requirements
1. The optional programmer as supplied will supply power to the pump and
burner via the central heating channel.
2. When connecting to external controls, eg „Y plan or „S‟ plan it will be
necessary to remove the loop between 3 and 12 on the programmer
terminal block.
3. The programmer is not suitable for gravity hot water systems.

Table of Contents

Related product manuals