EasyManua.ls Logo

Wayne P250 - Page 26

Wayne P250
32 pages
Print Icon
To Next Page IconTo Next Page
To Next Page IconTo Next Page
To Previous Page IconTo Previous Page
To Previous Page IconTo Previous Page
Loading...
64659-001 REV. A 07/06/18
26
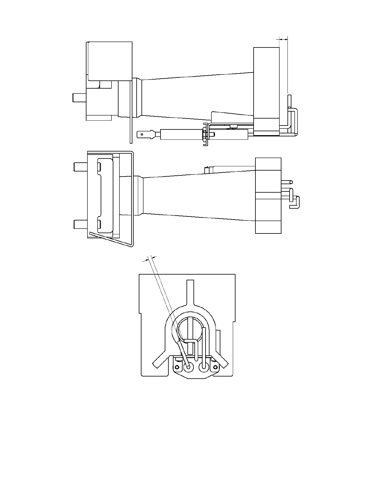
Figure 12 - P265 Electrode Positions, Factory Setting
1/8” (3.2 mm)
gap
5/16” ± 1/16”
6.4 ± 1.6 mm

Other manuals for Wayne P250

Related product manuals