EasyManua.ls Logo

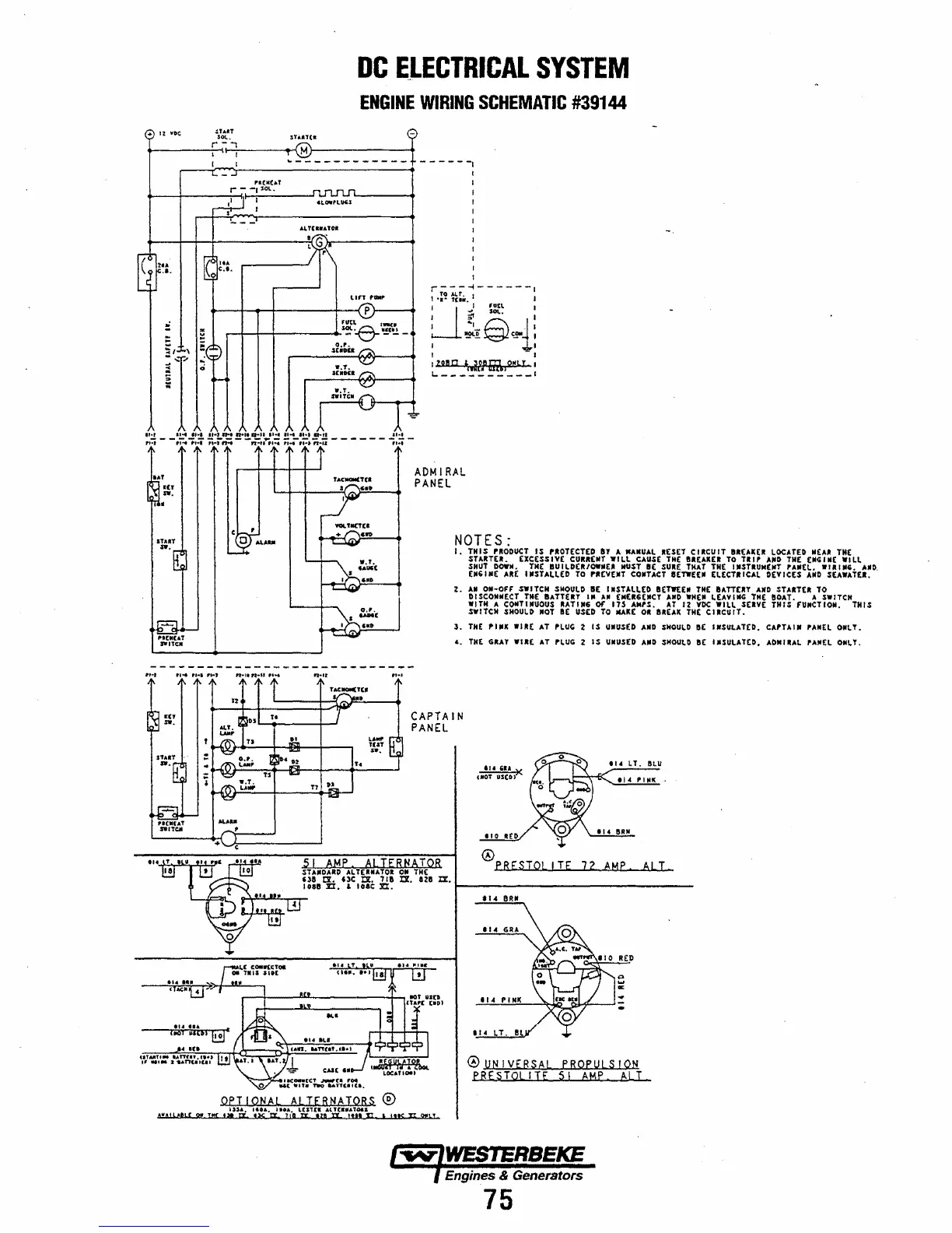
Westerbeke 38B FOUR - Engine Wiring Schematic #39144

Westerbeke 38B FOUR
110 pages
Print Icon
To Next Page IconTo Next Page
To Next Page IconTo Next Page
To Previous Page IconTo Previous Page
To Previous Page IconTo Previous Page
Loading...
DC
E_LECTRICAL
SYSTEM
ENGINE
WIRING
SCHEMATIC
#39144
...
1%
woe
,---~
........
...;.--------------..
- -- - -
-,
..
T
""
n.
T1
0)
L
......
TUT
$".
r';;
;L;:
-I
- - - -
--,
"1'
Ttl
••
1 I
U
I
fUEL
I
:
~-~
i:
~!y~
1 I
, - I
I m 0
~wiR."m\,OHLT
I
L.
__________
,
ADMIRAL
PANEL
NOTES:
I.
THIS
P~ODUCT
IS
f'.OTECTED
In
A
MANUAL
IIESET
CIIICUIT
IIREAIIOEIt
LOCATE!)
NEAll
THE
STAltTEIt. EXCESSIVE (URItEIIT
WILL
CAU$£
THE
III1£AIIEIt
TO
TRI'
AIID
THE
EMGUIE
WILt.
.sHUT
DOWM.
TME
111.1
I
LOU
1
OWII
(II
IIUST
IE
SUIIE
TMA
T
THE
11I.s1llUII£IIT
I'
AN£L.
.'"Illi.
....0,
(II"ME
AII£
INSTALl(D
TO
f'1t£VENT
CONTACT
IlEnrEEII
ELECTa'CAl DEVICE.s
AND
.sEA.UEJ.
z.
AM
OIl~OFF
S.ITCH
.$IIOULD
I[
IJSTAlUD
IIETWEEII
TilE hTT£lltY
AIID
nUTU
TO
DISCOMNECT
TilE eATTERY III
All
£II£II6(11CT
AIID
.HEII
LEAVIIIG
THE
IIOAT.
A
SWITCH
'11TH
A COIiTlIIUOUS IIATI1I6
Of
17$
AMI'S.
AT
12
YDC
WilL
SEIVE THIS fUlIC:TIOII. THIS
SWITCH
SHOULD
IIOT
lIE
USED
TO
MAli!:
011
BREAI(
THE
CIIICUIT.
3.
THE
'IIIK
.'IIE
AT ,LUG
IS
UIIIIS(D
AIID
SHOULD
eE
'"SIILAT(O,
CAnAIII
'ANEl
OllLT.
4.
THE
GlIAl'
'lIRE
AT
PLUG
2
IS
UIIUSED
AIIO
SIIOULO
liE
I NSULAT£!). ADlliltAL I'A"£L OIlLT.
CAPTAIN
PANEL
.,'
LT.
III.U
51
AMP
ALTERNATOR
ST
UO,\RI)
AI.
HIlIIArOIl
011
THt:
@pBESIO[
lIE
7Z
AMP
ALI
~::e
Ili.
'~C
IHe
i:i~
:ct. m
IZ.
\-
__________________
_
o
UN
I
VERSAl
PROPULS!
ON
PRESTQl
lIE
51
AMP
ALI
Engines & Generators
75

Table of Contents

Related product manuals