EasyManua.ls Logo

Wexiodisk WD-7 DUPLUS - Steam Hood with Extractor Installation

Wexiodisk WD-7 DUPLUS
60 pages
Print Icon
To Next Page IconTo Next Page
To Next Page IconTo Next Page
To Previous Page IconTo Previous Page
To Previous Page IconTo Previous Page
Loading...
Glasstilt Rev. 2.0 (202202)
Installation instructions
23
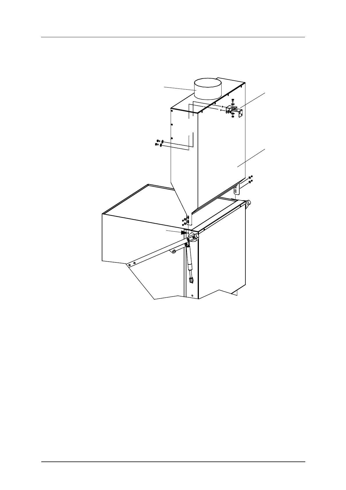
3.5.9 Steam hood with extractor (option)
Steam hood with extractor
1. Existing screws
2. Steam hood
3. Bracket
4. Connection for ventilation ø 160 mm
Undo the existing M4 screws at (1).
Replace the existing screws and washers with the longer M4 screws and
the larger washers provided. The steam hood (2) is fastened to (1) using
these screws.
Screw one bracket (3) firmly to the wall behind the machine. The other
bracket must be put in the corresponding position on the back of the steam
hood. Two holes 7 mm in diameter must be drilled through the plate.
Screw both the brackets (3) together with the screws, washers and nuts
provided.
The ventilation duct is connected to (4).
1
2
3
4
45089

Table of Contents

Related product manuals