EasyManua.ls Logo

Whirlpool 27' - Timer Schedule and Strip Circuits

Whirlpool 27'
36 pages
Print Icon
To Next Page IconTo Next Page
To Next Page IconTo Next Page
To Previous Page IconTo Previous Page
To Previous Page IconTo Previous Page
Loading...
27
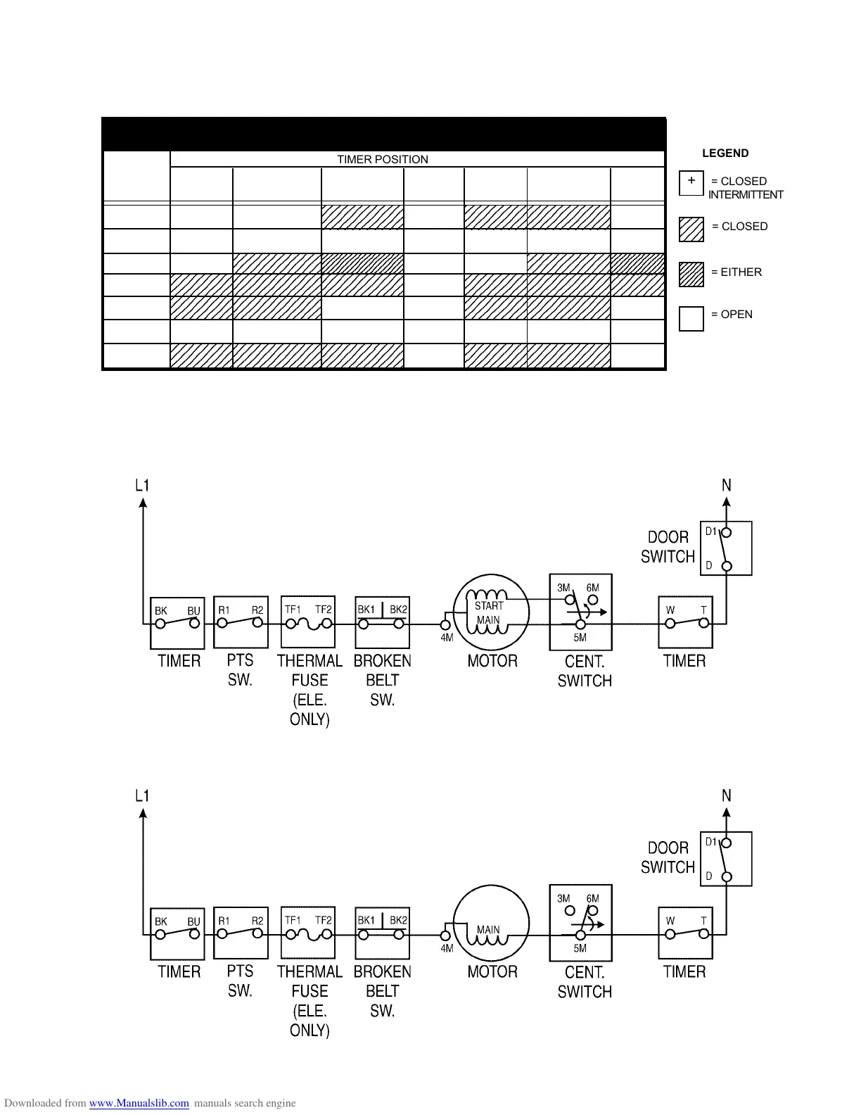
STRIP CIRCUITS
1. Drive Motor Circuit - At moment of START
2. Drive Motor Circuit - RUNNING at speed
TIMER SCHEDULE
TIMER SCHEDULE
SWITCH
CONTACTS
AUTO-
REGULAR
AUTO-SOFT/
LOW HEAT
COOL DOWN
& AIR DRY
TIMED-
REGULAR
TIMED-SOFT/
LOW HEAT
GY-WB
BK-BU-V
BK-BU
BK-R
T-BY
T-W
END OF
CYCLE
+
GUARD
1234567890
1
23456789
0
1
23456789
0
1
23456789
0
1
23456789
0
1
23456789
0
1
23456789
0
1234567890
1234567890
1
23456789
0
1
23456789
0
1234567890
1234567890123
1
23456789012
3
1
23456789012
3
1
23456789012
3
1
23456789012
3
1
23456789012
3
1
23456789012
3
1
23456789012
3
1
23456789012
3
1234567890123
1234567890123
1
23456789012
3
1
23456789012
3
1234567890123
123456789012
1
2345678901
2
1
2345678901
2
123456789012
123456789012345678
1
2345678901234567
8
1
2345678901234567
8
1
2345678901234567
8
1
2345678901234567
8
123456789012345678
123456789012
1
2345678901
2
1
2345678901
2
123456789012
123456789012
1
2345678901
2
1
2345678901
2
123456789012
1234567890
1
23456789
0
1
23456789
0
1234567890
1234567890
1
23456789
0
1
23456789
0
1
23456789
0
1
23456789
0
1
23456789
0
1
23456789
0
1234567890
1234567890
1
23456789
0
1
23456789
0
1234567890
1234567890123
1
23456789012
3
1
23456789012
3
1234567890123
1234567890123
1
23456789012
3
1
23456789012
3
1
23456789012
3
1
23456789012
3
1
23456789012
3
1
23456789012
3
1
23456789012
3
1
23456789012
3
1234567890123
1234567890123
1
23456789012
3
1
23456789012
3
1234567890123
12345678
1
234567
8
1
234567
8
12345678
2345678901
2345678901
2345678901
2345678901
TIMER POSITION
1234
1
23
4
1
23
4
1234
123456
1
2345
6
1
2345
6
1
2345
6
1
2345
6
123456
+
LEGEND
= OPEN
= CLOSED
= EITHER
= CLOSED
INTERMITTENT

Table of Contents

Other manuals for Whirlpool 27'

Related product manuals