EasyManua.ls Logo

WinGD WARTSILA RT-flex58T-E - Page 188

WinGD WARTSILA RT-flex58T-E
504 pages
Print Icon
To Next Page IconTo Next Page
To Next Page IconTo Next Page
To Previous Page IconTo Previous Page
To Previous Page IconTo Previous Page
Loading...
Maintenance27512/A1
RT-flex58T-E
Winterthur Gas & Diesel Ltd.
8/ 9
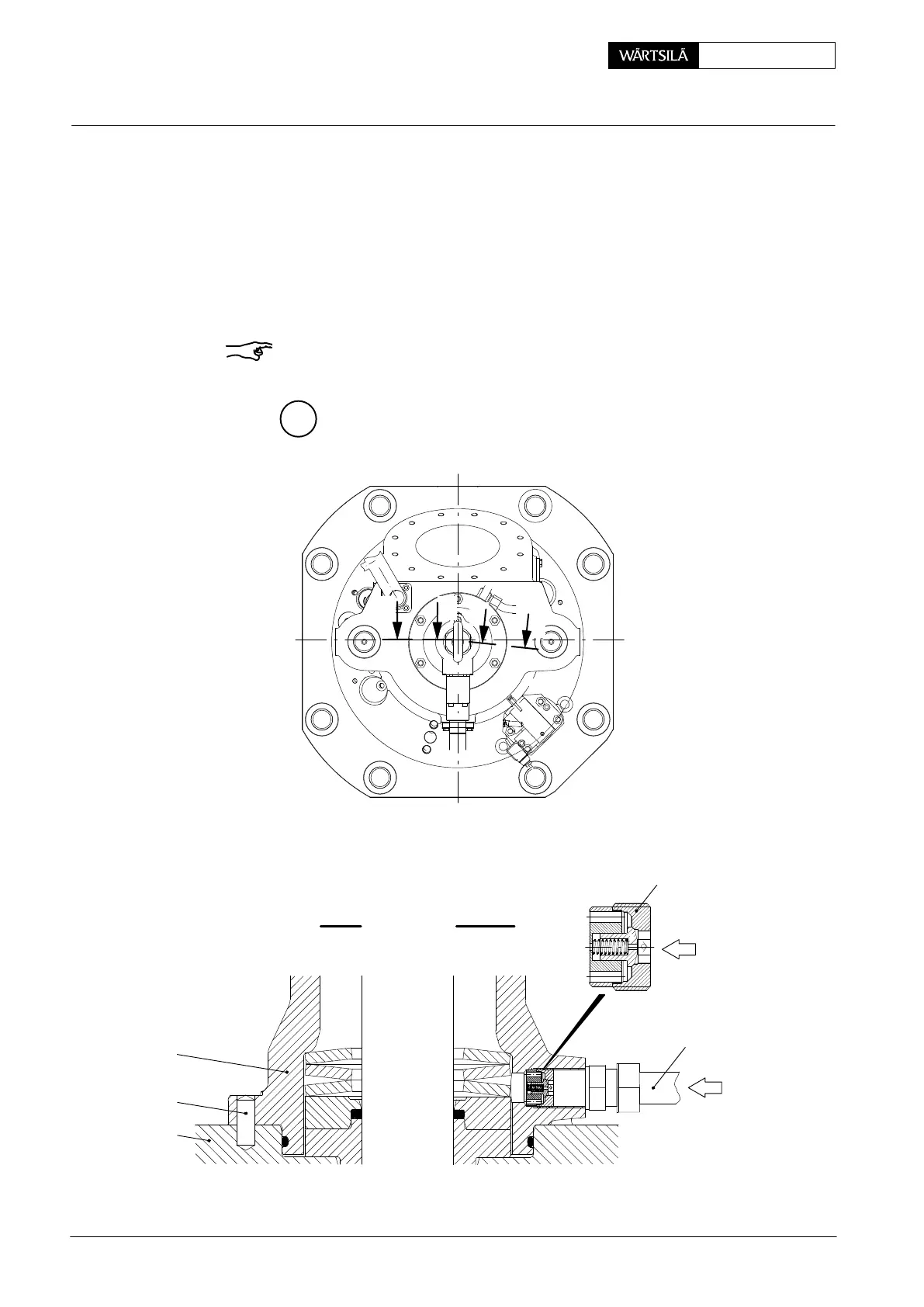
3.6 Checking filter
Remove screw plug 24 (detail in Fig. ’B’). Loosen filter 25 together with its
orifice and check them for fouling.
3.7 Checking non-return valve
Loosen and remove adapter 26.
Check non-return valve 27 for cleanliness on every overhaul.
Remark! When fitting the non-return valve pay attention to the air inlet side!
J
II - III - I
AIR INLET
EXHAUST SIDE
2
28
1
26
27
WCH00736
II
II
I
I
2013
Exhaust Valve: Dismantling and Assembling

Table of Contents

Related product manuals