EasyManua.ls Logo

WinGD WARTSILA RT-flex58T-E - Page 219

WinGD WARTSILA RT-flex58T-E
504 pages
Print Icon
To Next Page IconTo Next Page
To Next Page IconTo Next Page
To Previous Page IconTo Previous Page
To Previous Page IconTo Previous Page
Loading...
Maintenance
33031/A1
RT-flex58T-E
Winterthur Gas & Diesel Ltd.
1/ 2
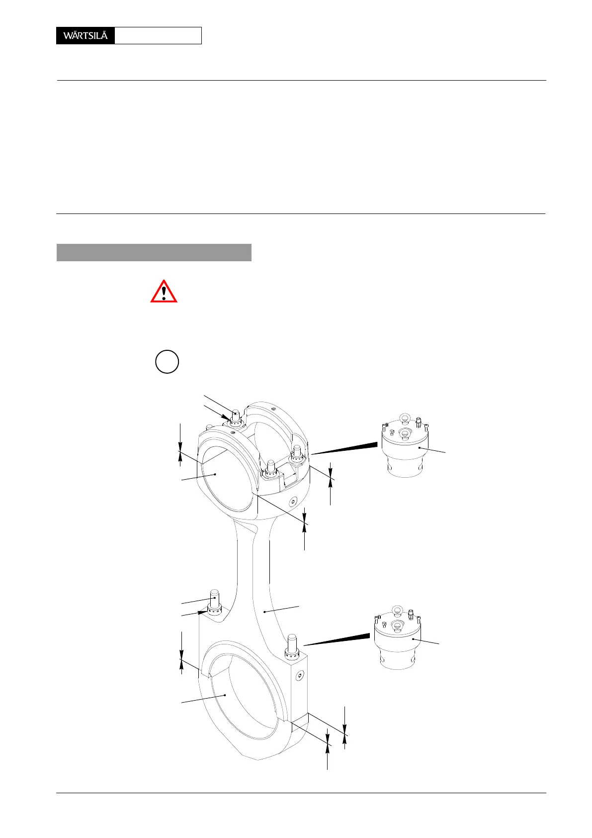
Tools: Key to Illustrations:
1 Feeler gauge 94122 1 Connecting rod
2 Pre-tensioning jacks 94314 2 Bottom end bearing
2 Pre-tensioning jacks 94315 3 Top end bearing
1 Hydr. distributor 94934A 4 Stud of bottom end bearing
1 HP hose 94935 5 Stud of top end bearing
2 HP hoses 94935A 6 Nut
1 Hydraulic unit 94942 7 Nut
1. General
Attention! Never turn the crankshaft (with the turning gear) as long as the pre-ten-
sioning jacks are mounted on the connecting rod studs!
Please refer to General Application Instructions 94034 for hydraulic pre-tension-
ing jacks.
5
7
4
6
94314
y
y
y
y
y
y
2
3
1
A
94315
DRAWN FOR
RTflex68D
Connecting Rod
Loosening and Tensioning the Connecting Rod Studs
2013

Table of Contents

Related product manuals