EasyManua.ls Logo

Worcester GREENSTAR UTILITY 32/50

Worcester GREENSTAR UTILITY 32/50
52 pages
To Next Page IconTo Next Page
To Next Page IconTo Next Page
To Previous Page IconTo Previous Page
To Previous Page IconTo Previous Page
Loading...
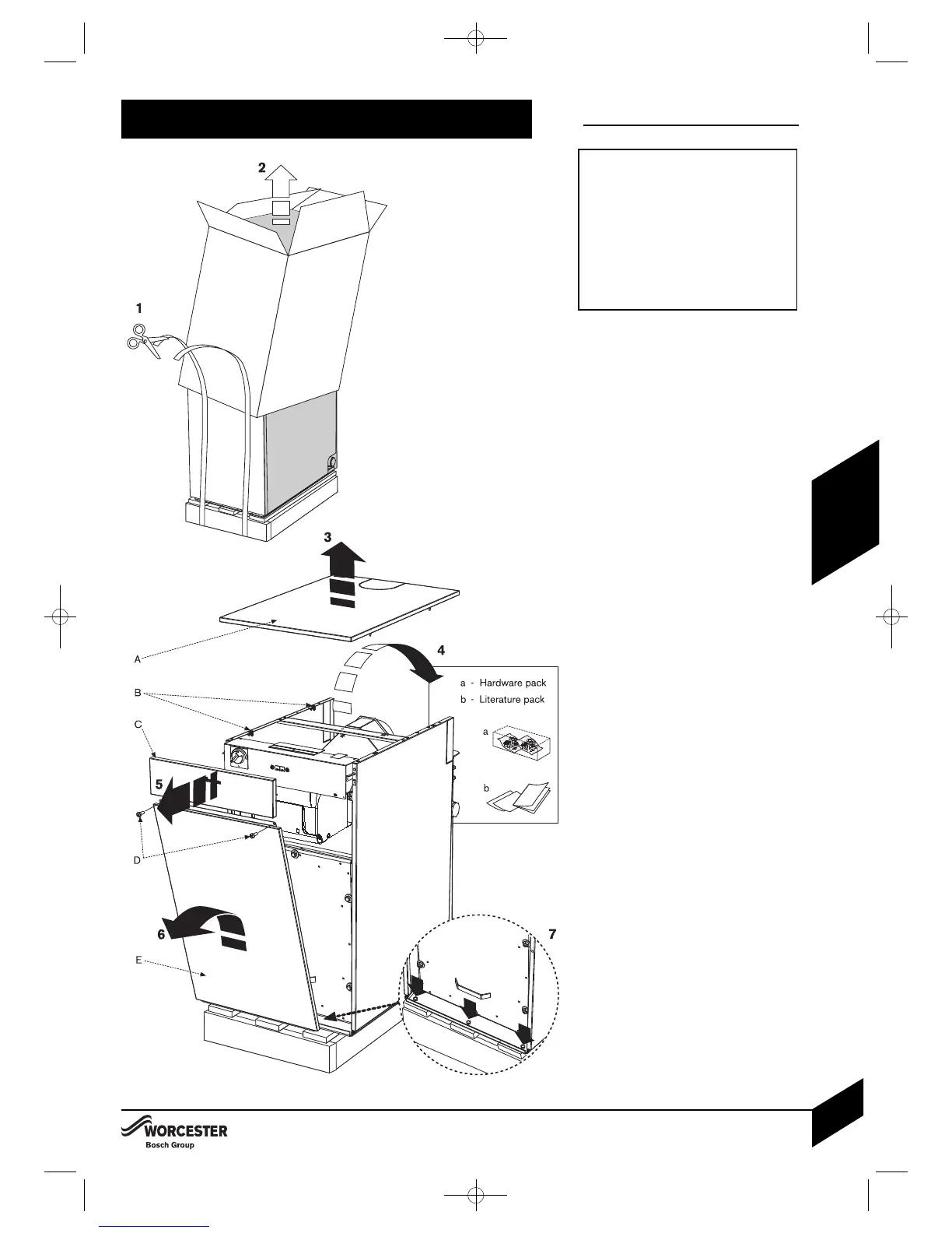
UNPACKING THE BOILER
INSTALLATION & SERVICING INSTRUCTIONS FOR WORCESTER GREENSTAR UTILITY 32/50 & 50/708 716
109 711B 07.2010
19
INSTALLATION
Unpacking:
It is advised that two or more persons are involved
in the transfer of the packaged boiler from the van
to the point of delivery.
1 Once the packaged boiler has been
delivered, the outer carton is removed first.
Care should be taken when releasing the
straps. If a sharp implement is used make
sure the outer carton is not pierced and that
the implement is used in such a way so that
it may not cause personal injury. All sharp
objects must be covered or the blade
retracted after use and put away in a safe
place.
2 Lift carton up and away from the boiler.
Remove the plastic bag and upper front
protection cover from the boiler and place
safely aside.
3 Lift top panel (A) upwards to disengage ball
stud connectors (B) and remove.
4 Extract the ancilliary items (a) & (b).
5 Pull the upper front panel (C) forwards to
disengage the balll stud connectors.
6 Remove securing screws (D) from front
panel (E).
Pull front panel (E) up and away from the
supporting ledge on the boiler and store
away from the working area.
7 Remove the bolts securing the boiler to the
transport pallet.
At all times the correct method for handling
heavy objects should be strictly observed.
UNPACKING THE BOILER
LIFTING AND CARRYING PRECAUTIONS:
• Lift only a manageable weight, or ask for
help.
When lifting or putting things down, bend
the knees, and keep the back straight
and feet apart.
Do not lift and twist at the same time.
Lift and carry objects close to the body.
Wear protective clothing and gloves to
protect from any sharp edges.
IMPORTANT: All the previous Pre-Installation sections must be read
and requirements met before starting boiler or flue installation.
8 716 109 711 b 07.10 14/7/10 09:59 Page 19

Other manuals for Worcester GREENSTAR UTILITY 32/50

Related product manuals