EasyManua.ls Logo

Worcester GREENSTAR UTILITY 32/50

Worcester GREENSTAR UTILITY 32/50
52 pages
To Next Page IconTo Next Page
To Next Page IconTo Next Page
To Previous Page IconTo Previous Page
To Previous Page IconTo Previous Page
Loading...
BOILER INSTALLATION
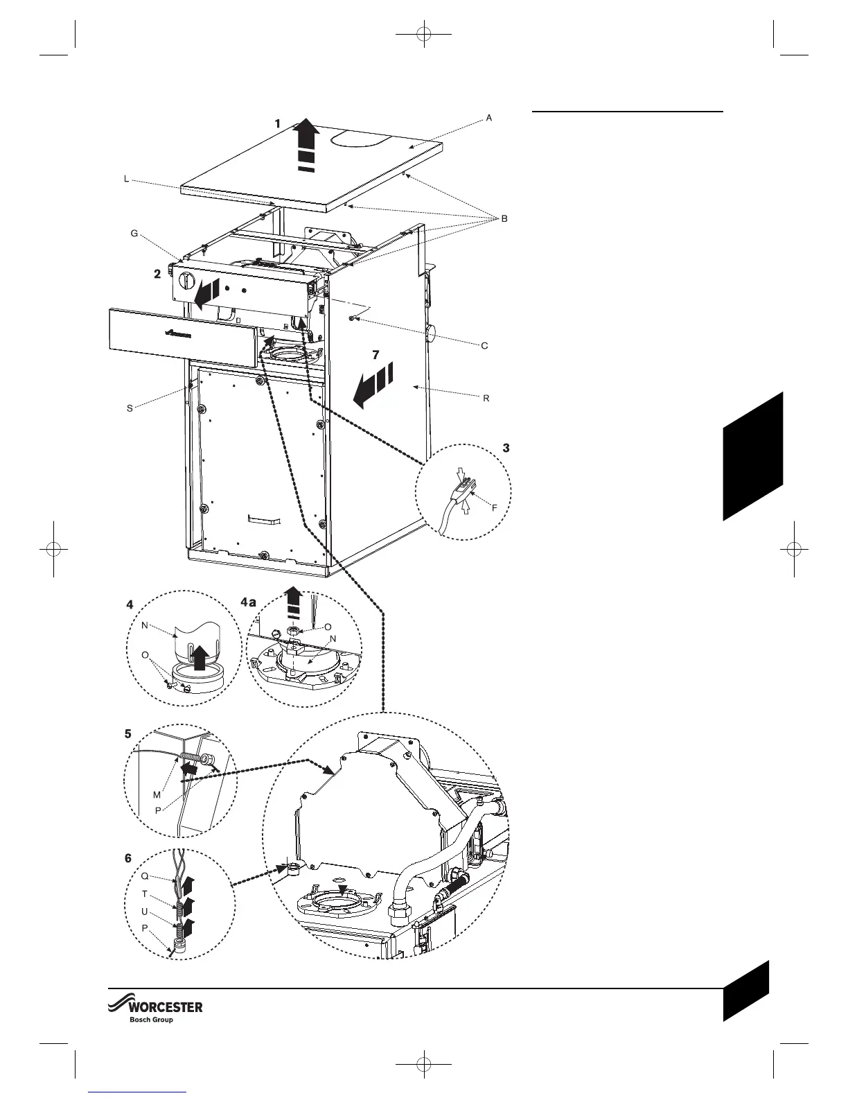
1 Lift the top panel (A) upwards to
disengage the ball stud connections (B)
and remove.
2 Pull the upper front panel squarely
forwards to disengage the ball stud
connectors and remove from the control
box (G).
Remove securing screws (C) from each
side.
Slide control box (G) outwards to its full
extent.
3 Depress locking ears to unplug burner
lead (F) from cntrol box (G).
4 Sterling burner:
Release burner retainers (O).
Lift burner up to release blast tube (N)
from heat exchanger and store safely
away from the boiler.
4aRiello burner:
Remove burner retainer nut (O).
Lift burner up to release blast tube (N)
from heat exchanger and store safely
away from the boiler.
5 Release split pin (P) to remove the flue
thermostat (M) from the flue hood.
6 Release split pin (P).
Carefully remove the CH Control
thermostat (Q), Automatic High Limit (T)
and Manual Reset thermostat (U) philes
from the heat exchanger thermostat
pocket.
7 Unscrew side panel (R) retaining screws
(S) from both sides.
Slide both side panels together with the
top support bracket (L) and control box
(G) forwards to release the side panel
retaining lugs.
Remove and store safely away from
the boiler.
NOTE: to enable the panels to stand
upright, reposition and secure
control box (G) to the side panels.
BOILER INSTALLATION
INSTALLATION & SERVICING INSTRUCTIONS FOR WORCESTER GREENSTAR UTILITY 32/50 & 50/708 716
109 711B 07.2010
21
INSTALLATION
8 716 109 711 b 07.10 14/7/10 09:59 Page 21

Other manuals for Worcester GREENSTAR UTILITY 32/50

Related product manuals