EasyManua.ls Logo

Worcester GREENSTAR UTILITY 32/50

Worcester GREENSTAR UTILITY 32/50
52 pages
To Next Page IconTo Next Page
To Next Page IconTo Next Page
To Previous Page IconTo Previous Page
To Previous Page IconTo Previous Page
Loading...
PRE-COMMISSIONING CHECKS -
APPLIANCE
CAUTION: ISOLATE THE MAINS SUPPLIES
BEFORE STARTING ANY WORK AND
OBSERVE ALL RELEVANT SAFETY
PRECAUTIONS.
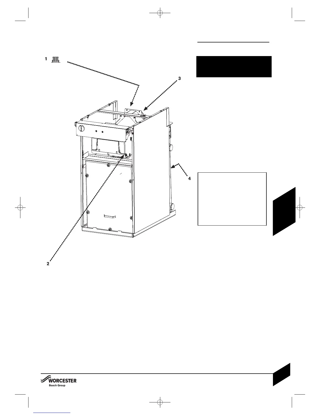
1Check that the service and water pipes are
connected correctly.
Check that all unused sockets are capped.
2 Check that the oil supply is 28 sec
kerosene and that the pipework is
connected correctly to the oil pump via the
supplied flexible oil hose.
Turn on the main oil supply valve at the
tank, check the oil supply pipework and
connections. Rectify any leaks.
3 Check the flue is correctly fitted and the
connections are secure.
4 Check the condensate pipework is
correctly fitted and connected.
Check the condensate trap is filled with
water.
IMPORTANT: If the boiler is not to be
commissioned immediately then:
After successfully completing all of the
checks and any rectification work, close
the water valves, shut off the oil supply
and electrically isolate the boiler.
Complete the installation part of the
Guarantee Registration Card, and
complete a CD10 or equivalent to
inform the LABC of the installation.
PRE-COMMISSIONING CHECKS-
APPLIANCE
INSTALLATION & SERVICING INSTRUCTIONS FOR WORCESTER GREENSTAR UTILITY 32/50 & 50/708 716
109 711B 07.2010
31
COMMISSIONING
8 716 109 711 b 07.10 14/7/10 09:59 Page 31

Other manuals for Worcester GREENSTAR UTILITY 32/50

Related product manuals