EasyManua.ls Logo

Xerox OLYMPIA ELECTRONIC COMPACT - Page 87

Xerox OLYMPIA ELECTRONIC COMPACT
96 pages
Print Icon
To Next Page IconTo Next Page
To Next Page IconTo Next Page
To Previous Page IconTo Previous Page
To Previous Page IconTo Previous Page
Loading...
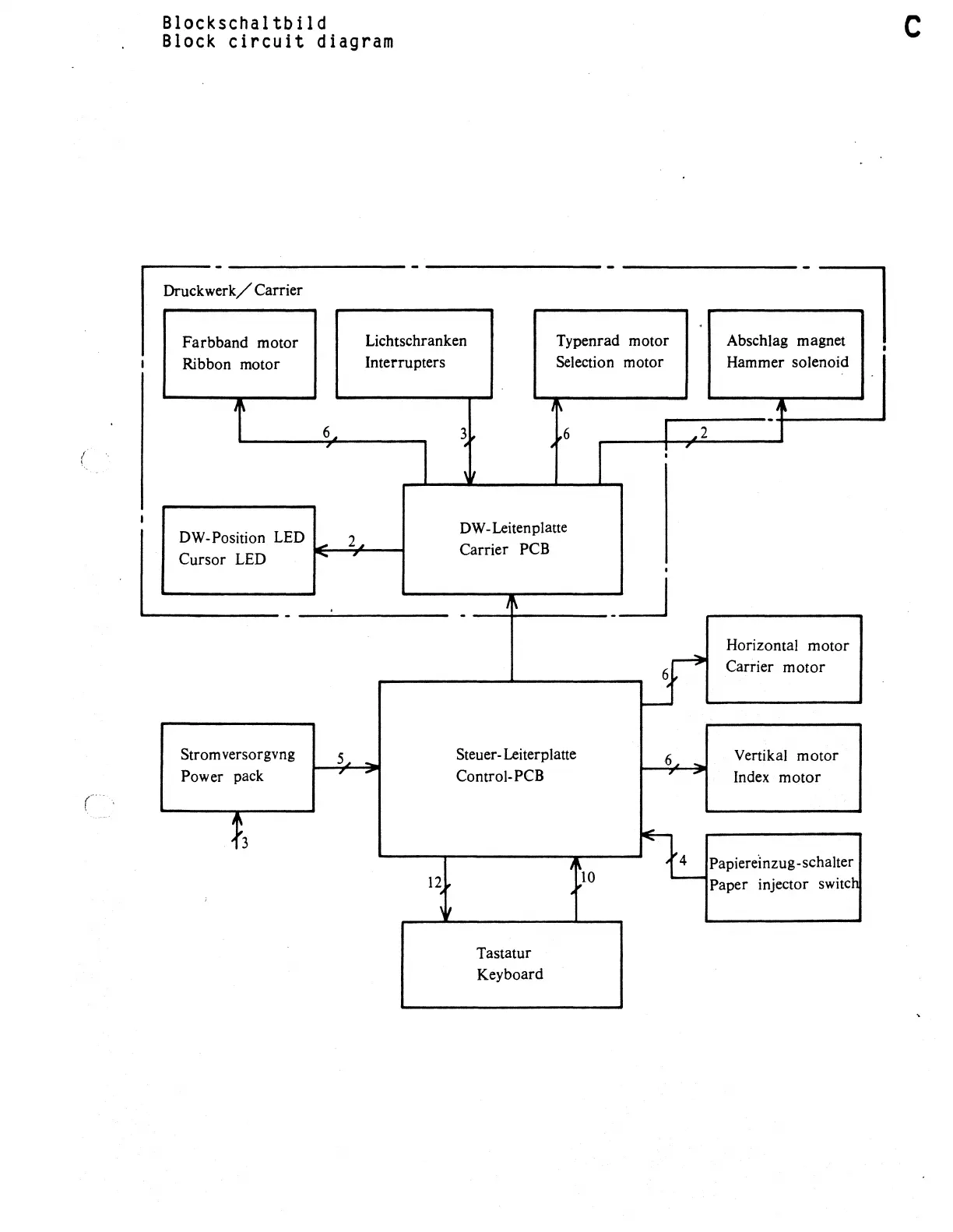
Blockschaltbild
Block
circuit
diagram
c
I
Druck,.:,k/
Carrier
I
Farbband motor
Lichtschranken
Typenrad motor Abschlag magnet
I
l
Ribbon motor
Interrupters Selection motor Hammer solenoid
(
1
I[\
_-i
6...._
3)'
"6
12
J
,
,.
r
1
7
\~
OW-Position LED
21
DW-Leitenplatte
-
Carrier PCB
Cursor LED
-
I'
I
-~
.
11\
-
-
rl
Horizontal motor
Carrier
motor
6)'
~
Strom versorgvng
5.L
-
Steuer-Leiterplatte
6_.._
-
Vertikal motor
Power pack
,
..
Control-PCB
7
-,.
Index
motor
(
13
~
Papierelnzug-schalter
12)'
'"10
)i
Paper injector switch
;
'~
Tastatur
Keyboard