EasyManua.ls Logo

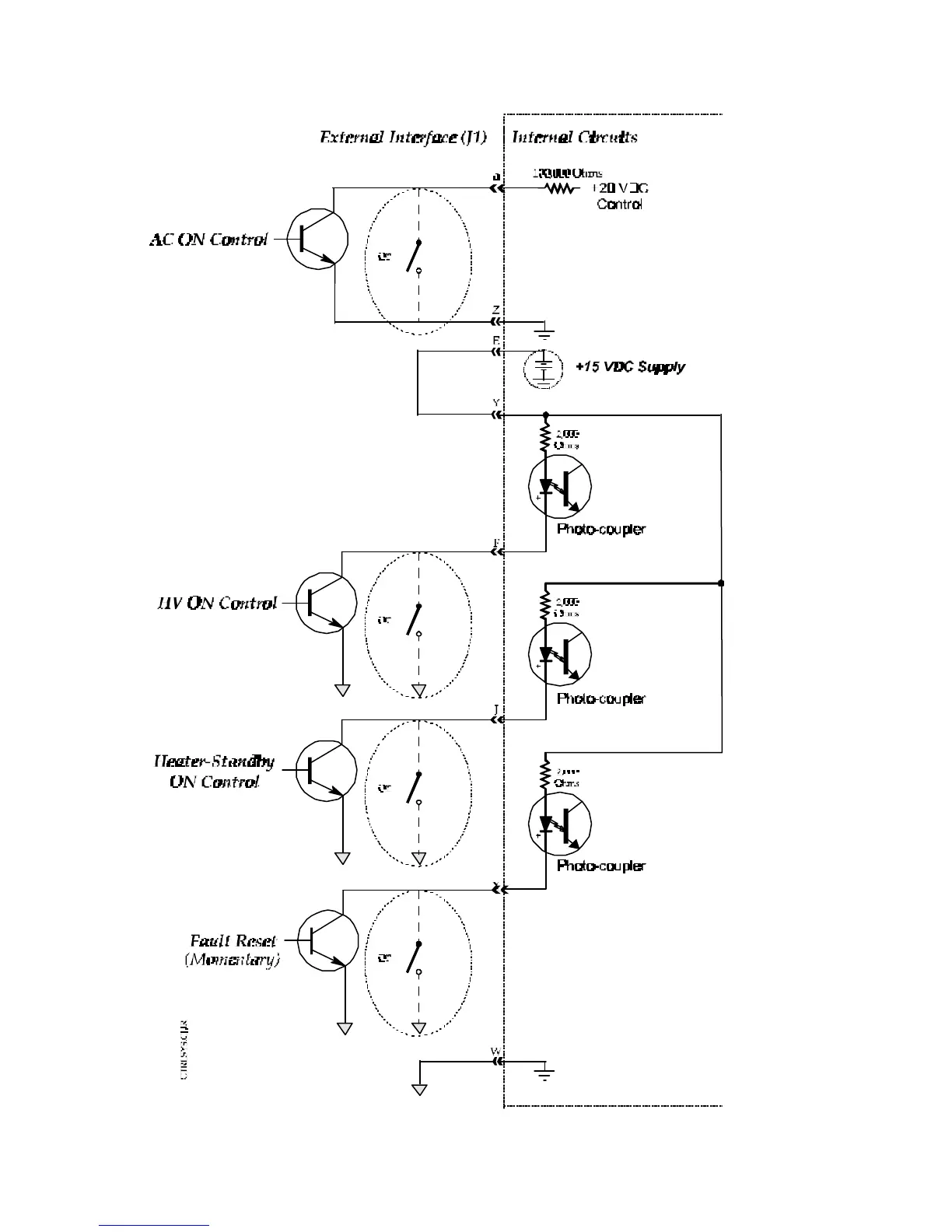
Xicom XT-50 - Internal Supply Control Circuits

Default Icon
36 pages
Print Icon
To Next Page IconTo Next Page
To Next Page IconTo Next Page
To Previous Page IconTo Previous Page
To Previous Page IconTo Previous Page
Loading...
XT-50, XT-80, and XT-100 Amplifiers Installation 2-7
Figure 2-9. Internal Supply Control Circuits

Table of Contents

Related product manuals